凌云光获得发明专利授权:“一种缺陷检测装置”
作者:小微
发表于:2025年05月24日
浏览量:60201

图片来源于网络,如有侵权,请联系删除
证券之星消息,根据天眼查APP数据显示凌云光(688400)新获得一项发明专利授权,专利名为“一种缺陷检测装置”,专利申请号为CN202210813177.8,授权日为2025年5月23日。
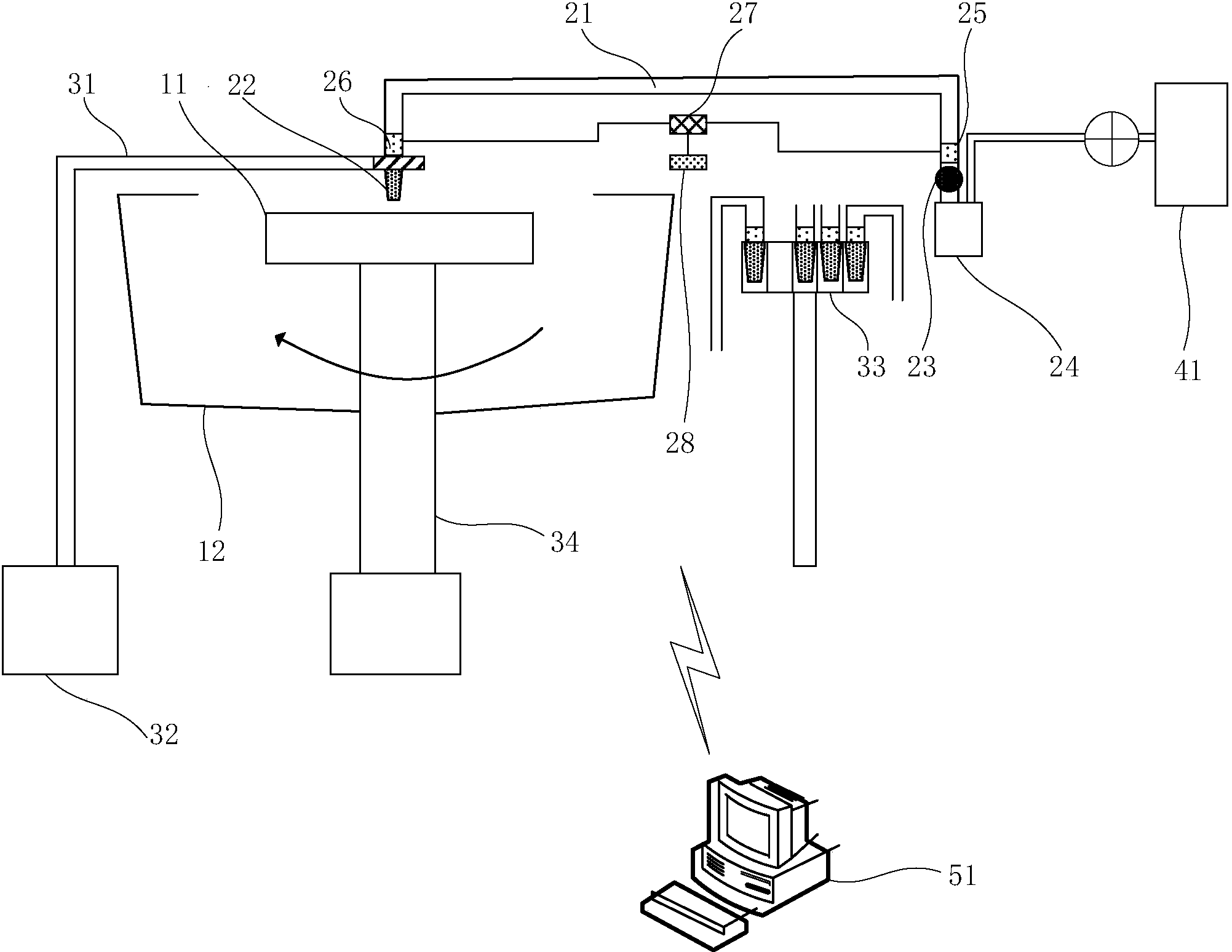
专利摘要:本申请涉及工业视觉技术领域,具体而言,涉及一种缺陷检测装置,一定程度上可以解决工业产品在3D外观缺陷检测、或多面缺陷检测时,需要设置多个工位及对应的光学镜头用于缺陷检测;以及在同时存在划痕、脏污时,需要先后进行明场检测、及暗场检测,才能区别划痕、及脏污的问题。所述缺陷检测装置包括:光源组件;光感测器组件,用于承载成像;主光路,用于使来自产品前端面的反射光途径补偿镜组件、分光镜组件、及物镜组件,成像于第一区域;明场光路,用于使来自所述产品侧面的反射光途径所述明场光路依次布置的明场反射镜组件、及所述物镜组件,成像于所述光感测器组件的第二区域,所述第二区域用于所述产品侧面的明场检测。
今年以来凌云光新获得专利授权21个,较去年同期减少了71.62%。结合公司2024年年报财务数据,2024年公司在研发方面投入了4.1亿元,同比减4.92%。
数据来源:天眼查APP
以上内容为证券之星据公开信息整理,由AI算法生成(网信算备310104345710301240019号),不构成投资建议。
