格力电器获得实用新型专利授权:“一种压缩机、压缩系统及空调”
作者:小微
发表于:2025年05月17日
浏览量:68890

图片来源于网络,如有侵权,请联系删除
证券之星消息,根据天眼查APP数据显示格力电器(000651)新获得一项实用新型专利授权,专利名为“一种压缩机、压缩系统及空调”,专利申请号为CN202421356744.2,授权日为2025年5月16日。
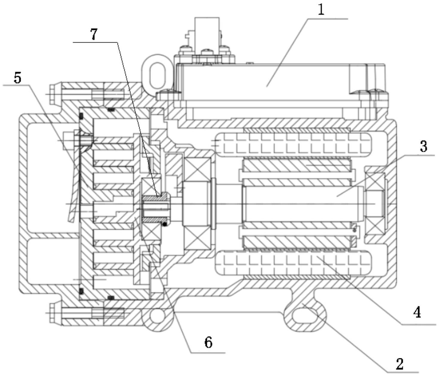
专利摘要:本实用新型涉及一种压缩机、压缩系统及空调,压缩机包括压缩机泵体,所述压缩机泵体包括至少一个气缸单元,所述气缸单元包括至少一个气缸,所述气缸具有两个内腔,两个内腔分别为第一腔室和第二腔室,所述第一腔室的体积大于所述第二腔室的体积。在本压缩机中,通过限定第一腔室和第二腔室的体积,即第一腔室的体积大于第二腔室的体积,对压缩机的吸气量和补气量比例进行限定,以达到单级增焓的补气量的最优值。有效避免中间补气量过大,降低蒸发器换热效果的问题,同时提升压缩机及压缩系统的制冷量和能效。

图片来源于网络,如有侵权,请联系删除
今年以来格力电器新获得专利授权2268个,较去年同期减少了5.18%。结合公司2024年年报财务数据,2024年公司在研发方面投入了69.04亿元,同比增2.1%。

图片来源于网络,如有侵权,请联系删除
数据来源:天眼查APP
以上内容为证券之星据公开信息整理,由AI算法生成(网信算备310104345710301240019号),不构成投资建议。
