明泰铝业获得实用新型专利授权:“一种双零箔用精炼设备的进气装置”
作者:小微
发表于:2025年05月27日
浏览量:52195

图片来源于网络,如有侵权,请联系删除
证券之星消息,根据天眼查APP数据显示明泰铝业(601677)新获得一项实用新型专利授权,专利名为“一种双零箔用精炼设备的进气装置”,专利申请号为CN202421751431.7,授权日为2025年5月27日。
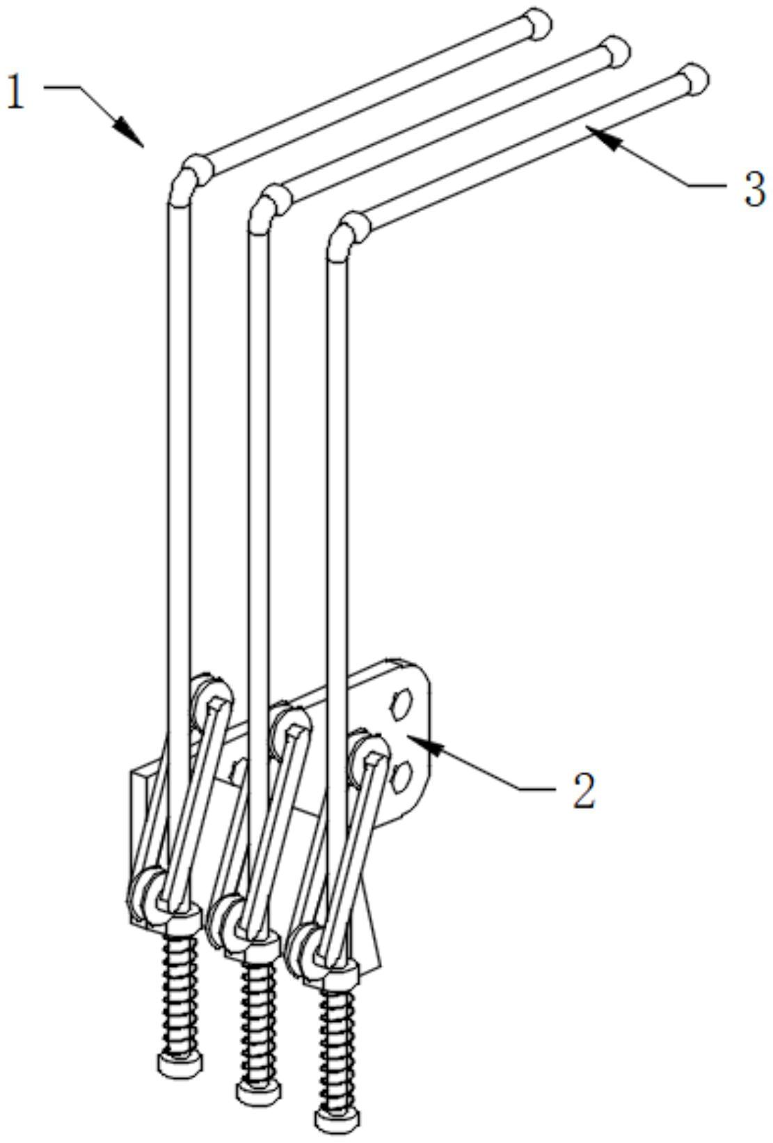
专利摘要:本实用新型涉及合金精炼技术领域,具体为一种双零箔用精炼设备的进气装置,包括进气管道,述进气管道包括连通且相垂直的竖直管道和弧形管道组件,竖直管道的另一端设置在工作地面上且与外部气罐连通,弧形管道组件具有弧度,弧形管道组件的另一端与工业炉连通,弧形管道组件上依次设置有第一调节阀和第一减压阀,第一减压阀上设置有第一压力表。本实用新型的双零箔用精炼设备的进气装置,氩气通过竖直管道、弧形管道组件进入工业炉内,通过第一调节阀和第一减压阀对氩气进行压力调节,实现氩气平稳进气。

图片来源于网络,如有侵权,请联系删除
今年以来明泰铝业新获得专利授权8个,较去年同期增加了60%。结合公司2024年年报财务数据,2024年公司在研发方面投入了4.46亿元,同比减58.88%。

图片来源于网络,如有侵权,请联系删除
数据来源:天眼查APP
以上内容为证券之星据公开信息整理,由AI算法生成(网信算备310104345710301240019号),不构成投资建议。
