铁建重工获得发明专利授权:“一种盾构机主驱动密封测试系统及测试方法”
作者:小微
发表于:2025年05月28日
浏览量:62082

图片来源于网络,如有侵权,请联系删除
证券之星消息,根据天眼查APP数据显示铁建重工(688425)新获得一项发明专利授权,专利名为“一种盾构机主驱动密封测试系统及测试方法”,专利申请号为CN201911148542.2,授权日为2025年5月27日。
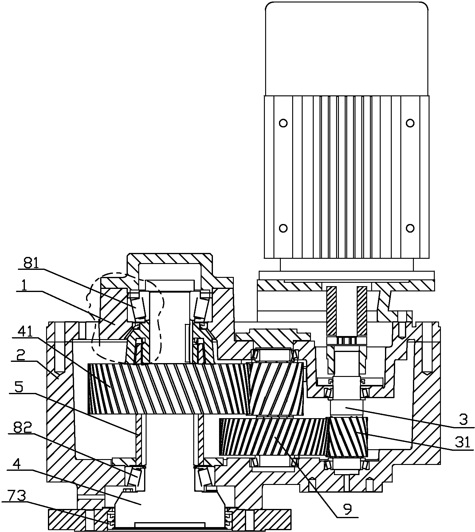
专利摘要:本发明提供了一种盾构机主驱动密封测试系统。包括气源、压力设置模块、压差调节模块、泄压模块和水土压力模拟模块;压力设置模块一端与水土压力模拟模块连接,另一端与压差调节模块并联连接至气源;压差调节模块和泄压模块连接至主驱动密封的后侧密封腔;水土压力模拟模块连接至主驱动密封的前侧密封腔;压差调节模块和泄压模块的控制端与水土压力模拟模块连接,对前侧、后侧密封腔压差进行调节。本发明还提供了一种盾构机主驱动密封测试方法。包括先调节压差调节阀、超压保护阀和安全阀的弹簧预紧力,再调节压力调节阀的出口压力进行试验。本发明通过调节各压力控制阀的弹簧预紧力,测试时使主驱动密封的前侧、后侧密封腔之间的压差保持稳定。
今年以来铁建重工新获得专利授权171个,较去年同期减少了30.2%。结合公司2024年年报财务数据,2024年公司在研发方面投入了9.14亿元,同比增3.68%。
数据来源:天眼查APP
以上内容为证券之星据公开信息整理,由AI算法生成(网信算备310104345710301240019号),不构成投资建议。
