孚能科技获得实用新型专利授权:“恒定电芯预紧力的电池模组”
作者:小微
发表于:2025年05月30日
浏览量:66462

图片来源于网络,如有侵权,请联系删除
证券之星消息,根据天眼查APP数据显示孚能科技(688567)新获得一项实用新型专利授权,专利名为“恒定电芯预紧力的电池模组”,专利申请号为CN202421759250.9,授权日为2025年5月30日。
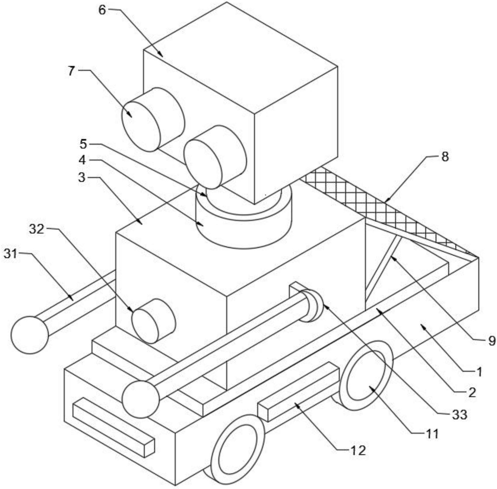
专利摘要:本实用新型涉及到电池技术领域,公开了一种恒定电芯预紧力的电池模组,包括:底板和两个端板,两个所述端板垂直于所述底板设置在所述底板的两端,所述端板包括第一端板与第二端板,所述第二端板与所述底板固定连接,且所述第一端板相对于所述第二端板可移动;恒力装置,所述恒力装置与所述端板连接,所述恒力装置提供所述第一端板向所述第二端板移动的恢复力。本实用新型的恒力装置提供预紧力对于电芯的使用更加有利,且控制了电芯充放电时鼓胀壳体发生变形,进而提高了电芯的稳定性和使用寿命。

图片来源于网络,如有侵权,请联系删除
今年以来孚能科技新获得专利授权33个,较去年同期减少了21.43%。结合公司2024年年报财务数据,2024年公司在研发方面投入了5.82亿元,同比减22.34%。
数据来源:天眼查APP
以上内容为证券之星据公开信息整理,由AI算法生成(网信算备310104345710301240019号),不构成投资建议。
