甬矽电子获得实用新型专利授权:“吸嘴结构和芯片吸附设备”
作者:小微
发表于:2025年05月30日
浏览量:68495

图片来源于网络,如有侵权,请联系删除
证券之星消息,根据天眼查APP数据显示甬矽电子(688362)新获得一项实用新型专利授权,专利名为“吸嘴结构和芯片吸附设备”,专利申请号为CN202421882693.7,授权日为2025年5月30日。
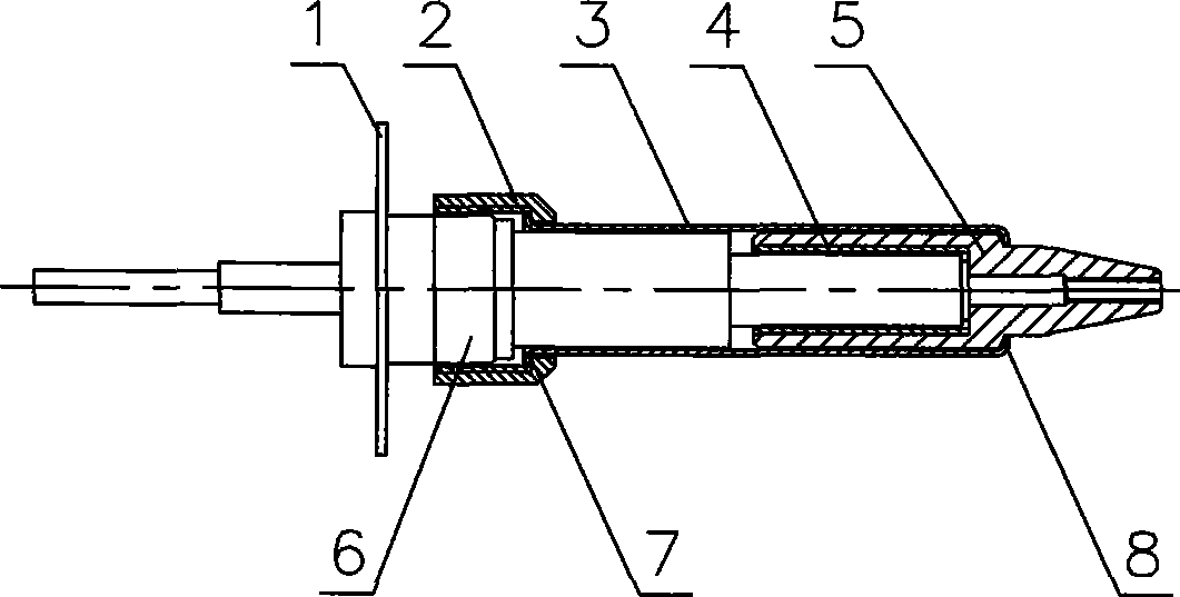
专利摘要:本实用新型提供的一种吸嘴结构和芯片吸附设备,涉及半导体技术领域,该吸嘴结构包括吸嘴底座和吸嘴头,吸嘴头可拆卸地安装在吸嘴底座上,吸嘴底座具有外接气槽,吸嘴头内设置有气腔槽,气腔槽连通至外接气槽,且吸嘴头具有相对的吸附端面和安装端面,安装端面对应贴合于吸嘴底座,吸附端面的中心设置有连通气槽,且连通气槽和边缘气槽均与气腔槽连通。相较于现有技术,本实用新型通过增设气腔槽,能够作为气体储存空间,从而能够提升边缘气槽和连通气槽的吸附气压,进而提升吸附力,保证吸附效果。同时,采用边缘气槽和连通气槽的双气槽结构,能够提升边缘吸附力,在保证吸附效果的同时,提升芯片的贴装和分离效率。
今年以来甬矽电子新获得专利授权33个,较去年同期增加了65%。结合公司2024年年报财务数据,2024年公司在研发方面投入了2.17亿元,同比增49.29%。
数据来源:天眼查APP
以上内容为证券之星据公开信息整理,由AI算法生成(网信算备310104345710301240019号),不构成投资建议。
