圣邦股份获得发明专利授权:“一种提高采样精度的电源管理芯片中的输出功率管版图”
作者:小微
发表于:2025年05月31日
浏览量:62497

图片来源于网络,如有侵权,请联系删除
证券之星消息,根据天眼查APP数据显示圣邦股份(300661)新获得一项发明专利授权,专利名为“一种提高采样精度的电源管理芯片中的输出功率管版图”,专利申请号为CN202111289126.1,授权日为2025年5月30日。
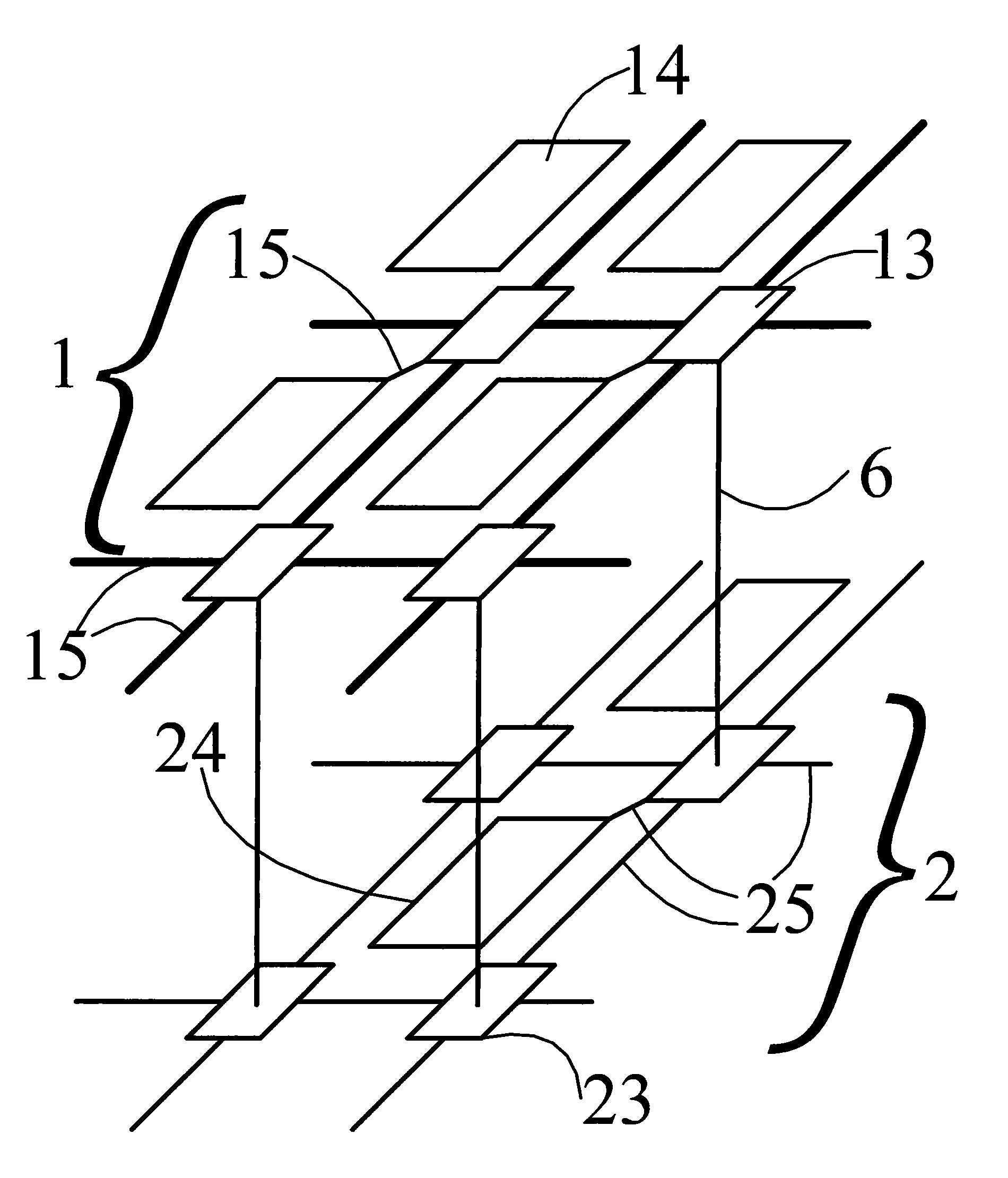
专利摘要:一种提高采样精度的电源管理芯片中的输出功率管版图,其特征在于:芯片包括多组输出功率管、与多组输出功率管源极连接的焊球引脚Vsource、与多组输出功率管漏极连接的焊球引脚Vdrain,以及与多个焊球引脚分别连接的多个采样管;其中,多组输出功率管等间距排成一列;焊球引脚Vsource与焊球引脚Vdrain的数量与多组输出功率管的数量相同;焊球引脚Vsource与焊球引脚Vdrain分别等间距排成两列,分布于各组输出功率管的两侧;多个采样管分别位于一一对应的焊球引脚Vsource和焊球引脚Vdrain之间。本发明方法简单、代价小,降低了芯片工艺要求,提高芯片测试精度。

图片来源于网络,如有侵权,请联系删除
今年以来圣邦股份新获得专利授权29个,较去年同期减少了34.09%。结合公司2024年年报财务数据,2024年公司在研发方面投入了8.71亿元,同比增18.14%。

图片来源于网络,如有侵权,请联系删除
数据来源:天眼查APP
以上内容为证券之星据公开信息整理,由AI算法生成(网信算备310104345710301240019号),不构成投资建议。
