南矿集团获得发明专利授权:“一种多缸圆锥破碎机下机架总成”
作者:小微
发表于:2025年05月31日
浏览量:60700

图片来源于网络,如有侵权,请联系删除
证券之星消息,根据天眼查APP数据显示南矿集团(001360)新获得一项发明专利授权,专利名为“一种多缸圆锥破碎机下机架总成”,专利申请号为CN202310032476.2,授权日为2025年5月30日。
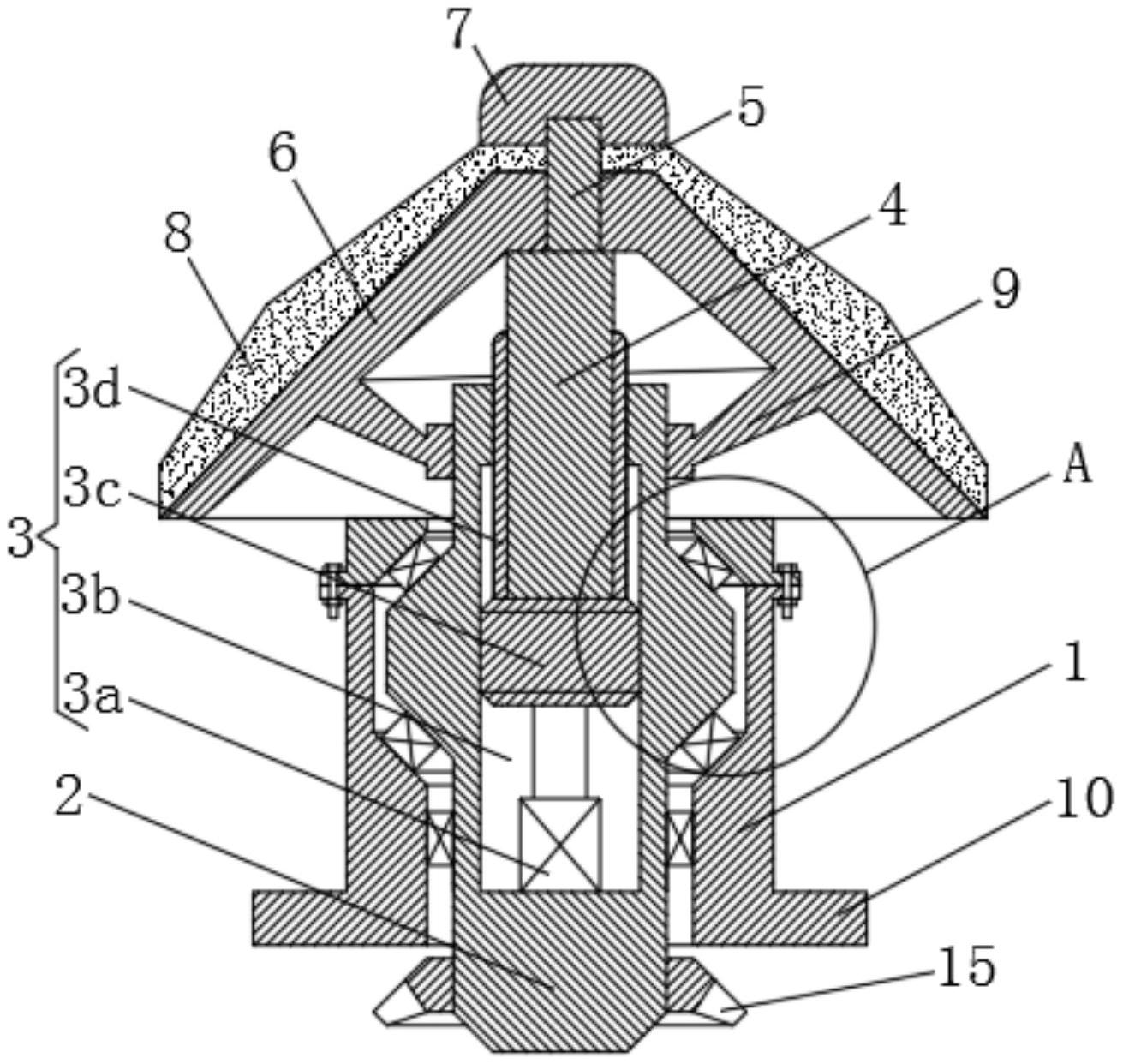
专利摘要:本发明公开了一种多缸圆锥破碎机下机架总成,其结构特征是:下机架与主轴一体化铸造后加工;观察窗盖板上设置孔,用于将其固定在下机架上;支杆分段为一圈焊接在下机架的上端面;坐垫为铜件,分段为一圈焊接在下机架的锥面;导销衬套通过冷装过盈配合安装在下机架的上法兰面相应的安装孔,用于保护下机架,避免下机架与导销直接接触,导销衬套下端卡槽安装O型圈,防止脱落;顶丝座焊接在下机架水平轴端面,可实现水平轴总成的偏心调节;本发明的有益效果是:该下机架总成强度高,使用简单,稳定性好,无需压装主轴或者过盈冷装主轴,对于装配工人及设备要求低,且比较容易保证主轴与水平轴孔的垂直,提升设备性能。
今年以来南矿集团新获得专利授权9个,较去年同期增加了200%。结合公司2024年年报财务数据,2024年公司在研发方面投入了3135.8万元,同比减1.78%。
数据来源:天眼查APP
以上内容为证券之星据公开信息整理,由AI算法生成(网信算备310104345710301240019号),不构成投资建议。
