丛麟科技获得实用新型专利授权:“一种物料输送装置”
作者:小微
发表于:2025年06月10日
浏览量:61923

图片来源于网络,如有侵权,请联系删除
证券之星消息,根据天眼查APP数据显示丛麟科技(688370)新获得一项实用新型专利授权,专利名为“一种物料输送装置”,专利申请号为CN202422010670.3,授权日为2025年6月10日。
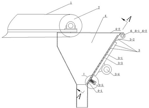
专利摘要:本实用新型涉及一种物料输送装置,目的是解决现有输送机在高腐蚀环境下突遇大质量物料易造成不可逆损坏的技术问题,技术方案为:刮板输送机的刮板链条中间设有刮道,刮板链条上均匀设有若干个刮板,刮板朝向刮道,还包括DCS系统、电机和警报系统,刮板输送机的中部浸没在湿渣池中,整体呈“�恪毙徒峁梗�四周设有输送装置壳体,电机设置壳体上,电机与传动链轮通过电机传动皮带相连;警报系统包括停机报警灯和位移限位器,停机报警灯固设在壳体上,位移限位器挂设在壳体内壁上,与刮板链条之间留有间隙;本实用新型通过设置DCS系统、警报系统等多重保护方式,解决了刮板链条突遇大质量物料而造成不可逆损坏、变形,现场人员能及时感知异常情况。

图片来源于网络,如有侵权,请联系删除
今年以来丛麟科技新获得专利授权8个,较去年同期增加了166.67%。结合公司2024年年报财务数据,2024年公司在研发方面投入了3076.47万元,同比减2.75%。
数据来源:天眼查APP
以上内容为证券之星据公开信息整理,由AI算法生成(网信算备310104345710301240019号),不构成投资建议。
