纽威数控获得实用新型专利授权:“一种顶置式夹具管路”
作者:小微
发表于:2025年06月13日
浏览量:53774

图片来源于网络,如有侵权,请联系删除
证券之星消息,根据天眼查APP数据显示纽威数控(688697)新获得一项实用新型专利授权,专利名为“一种顶置式夹具管路”,专利申请号为CN202421840193.7,授权日为2025年6月13日。
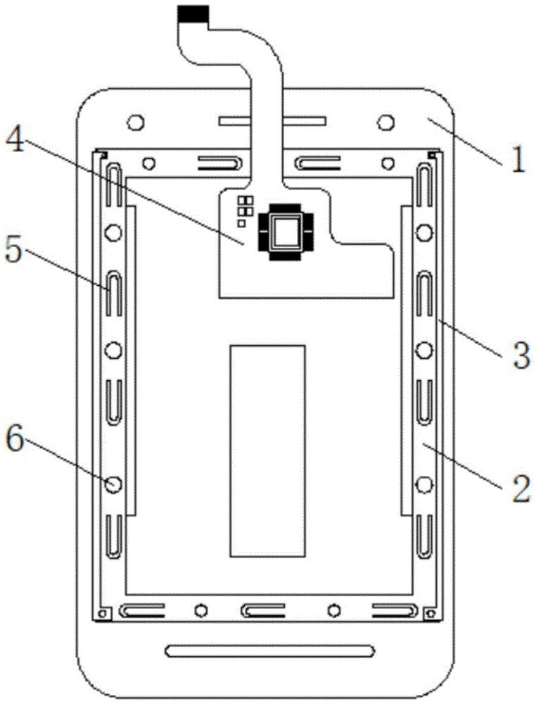
专利摘要:本实用新型提供一种顶置式夹具管路,包括基架、顶部接头、底部接头、软管、配油轴、防缠绕组件以及悬臂组件。基架包括顶板、底板以及基架本体,顶板、底板分别设置在基架本体上下两侧。若干顶部接头固定在顶板上,若干底部接头设置在基架内,任一软管顶端与一顶部接头连接,任一软管底端与一底部接头连接,配油轴可转动的设置在底板上且与底部接头连通,其中,配油轴转动带动所有软管同步扭曲或复位。通过设置软管连接顶部接头和底部接头,且配油轴可转动的设置在底板上且与底部接头连通,故而在卧式加工中心中,卧式加工中心交换工作台在旋转±180°的范围内,软管产生扭动,替代油路分配器(旋转接头),进而能够降低成本。

图片来源于网络,如有侵权,请联系删除
今年以来纽威数控新获得专利授权29个,较去年同期增加了93.33%。结合公司2024年年报财务数据,2024年公司在研发方面投入了1.12亿元,同比增10.35%。

图片来源于网络,如有侵权,请联系删除
数据来源:天眼查APP
以上内容为证券之星据公开信息整理,由AI算法生成(网信算备310104345710301240019号),不构成投资建议。
