中国石化获得发明专利授权:“一种提取微弱信号的方法和系统”
作者:小微
发表于:2025年06月14日
浏览量:72111

图片来源于网络,如有侵权,请联系删除
证券之星消息,根据天眼查APP数据显示中国石化(600028)新获得一项发明专利授权,专利名为“一种提取微弱信号的方法和系统”,专利申请号为CN202110606494.8,授权日为2025年6月13日。
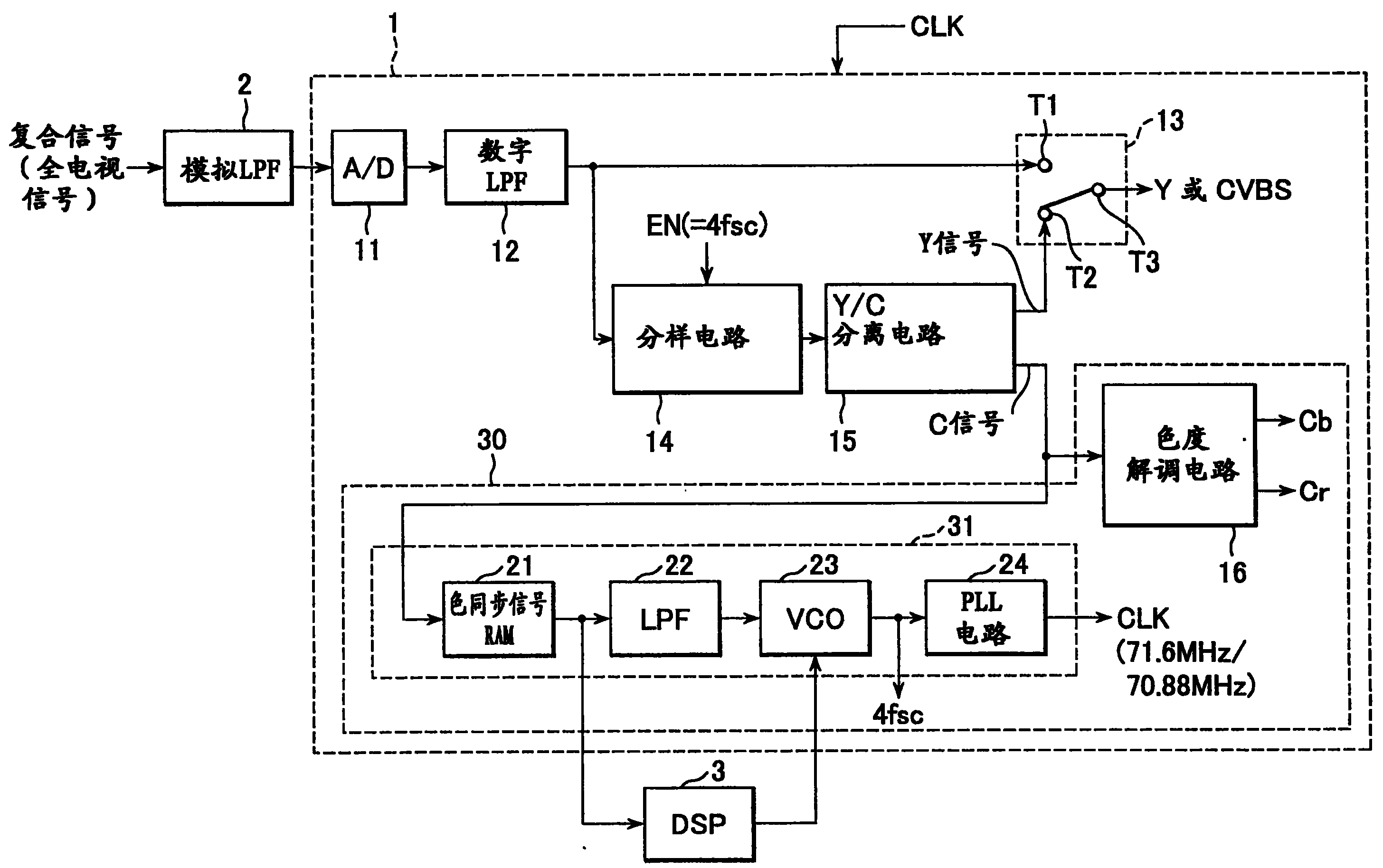
专利摘要:本发明涉及油气勘探重磁电数据处理领域,具体涉及一种提取微弱信号的方法和系统。本发明所述方法包括以下步骤:收集数据,计算每道数据所有采样点振幅的平方;进行滤波处理;获取声波远探测成果剖面。本发明方法采用检测数据作为参考信号,采用相关检测方法提取微弱信号,处理数据成像信噪比高,可获得理想的处理效果。

图片来源于网络,如有侵权,请联系删除
今年以来中国石化新获得专利授权1413个,较去年同期减少了45.27%。结合公司2024年年报财务数据,2024年公司在研发方面投入了152.15亿元,同比增8.92%。

图片来源于网络,如有侵权,请联系删除
数据来源:天眼查APP
以上内容为证券之星据公开信息整理,由AI算法生成(网信算备310104345710301240019号),不构成投资建议。
