洛阳钼业获得实用新型专利授权:“一种小型磁选装置”
作者:小微
发表于:2025年06月17日
浏览量:52045

图片来源于网络,如有侵权,请联系删除
证券之星消息,根据天眼查APP数据显示洛阳钼业(603993)新获得一项实用新型专利授权,专利名为“一种小型磁选装置”,专利申请号为CN202421851195.6,授权日为2025年6月17日。
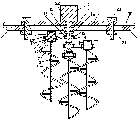
专利摘要:本实用新型属于矿物磁选分离设备技术领域,具体公开一种小型磁选装置,在竖梁的上端部之间设置有横梁,在横梁上套设有套管,套管与横梁转动连接,在套管下方通过连杆连接有与横梁垂直设置的支座,在支座的后端设有电机,在支座的前端设有管座,在管座下方设置有啮合连接的驱动套,选别管穿设在所述管座和驱动套中部,选别管与管座固定连接,所述电机通过传动件与驱动套传动连接,所述电机能够通过驱动套驱动管座带动选别管旋转,在横梁下方设有移动杆,在所述移动杆上左右间隔设置有磁铁,所述磁铁对应设置在选别管的两侧,本实用新型小型磁选装置,结构简单、占地面积小、功率较低,能够实现弱磁性矿物和非磁性矿物的分离。

图片来源于网络,如有侵权,请联系删除
今年以来洛阳钼业新获得专利授权18个,较去年同期增加了28.57%。结合公司2024年年报财务数据,2024年公司在研发方面投入了3.54亿元,同比增8.22%。

图片来源于网络,如有侵权,请联系删除
数据来源:天眼查APP
以上内容为证券之星据公开信息整理,由AI算法生成(网信算备310104345710301240019号),不构成投资建议。
