巨一科技获得实用新型专利授权:“一种手持式无孔挡圈安装设备”
作者:小微
发表于:2025年06月21日
浏览量:57115

图片来源于网络,如有侵权,请联系删除
证券之星消息,根据天眼查APP数据显示巨一科技(688162)新获得一项实用新型专利授权,专利名为“一种手持式无孔挡圈安装设备”,专利申请号为CN202421481228.2,授权日为2025年6月6日。
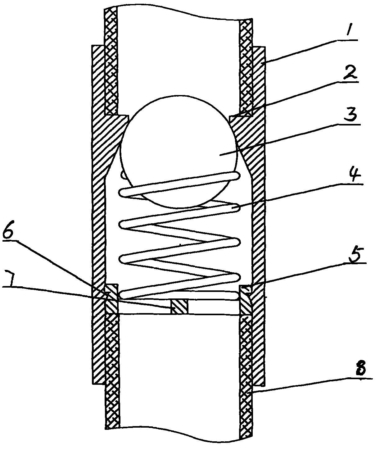
专利摘要:本实用新型公开了一种手持式无孔挡圈安装设备,包括支撑部以及套在所述支撑部外的旋转部;所述旋转部通过设有的连接销与所述支撑部上设有的引导槽滑动配合,并通过所述旋转部的旋转,促使所述连接销沿着所述引导槽滑动,以令所述旋转部促使挡圈沿着所述支撑部上设有的扩口向外扩张。综上所述,扩口对准电驱产品的驱动半轴,左右手相互旋转,引导槽与连接销相互配合将旋转力转化为向前动力,推动挡圈向前扩张,经扩口扩张后,卡入驱动轴内,实现产品的装配;有基于此,通过简单的旋转伸缩机构,即可有效且方便的安装挡圈,以实现挡圈安装的低成本以及高效化。进而解决了自动设备成本高,设备开动率低以及手动工具可靠性差,员工操作不便的问题。

图片来源于网络,如有侵权,请联系删除
今年以来巨一科技新获得专利授权30个,较去年同期减少了50%。结合公司2024年年报财务数据,2024年公司在研发方面投入了2.2亿元,同比减28.9%。
通过天眼查大数据分析,安徽巨一科技股份有限公司共对外投资了10家企业,参与招投标项目542次;财产线索方面有商标信息151条,专利信息1085条,著作权信息74条;此外企业还拥有行政许可12个。
数据来源:天眼查APP
以上内容为证券之星据公开信息整理,由AI算法生成(网信算备310104345710301240019号),不构成投资建议。
