格力电器获得发明专利授权:“一种挡油帽组件及旋转压缩机”
作者:小微
发表于:2025年06月21日
浏览量:72235

图片来源于网络,如有侵权,请联系删除
证券之星消息,根据天眼查APP数据显示格力电器(000651)新获得一项发明专利授权,专利名为“一种挡油帽组件及旋转压缩机”,专利申请号为CN202010032471.6,授权日为2025年6月20日。
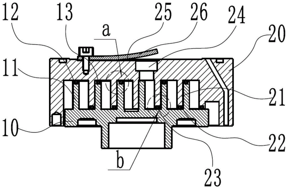
专利摘要:本发明提供一种挡油帽组件,应用于旋转压缩机,包括有第一挡油帽、第二挡油帽和重力件,所述第二挡油帽由多个子挡油帽组成,所述重力件位于第一挡油帽和第二挡油帽之间且能够相对于所述第一挡油帽自由移动,可以使旋转压缩机上腔体里上升气流中的冷媒和冷冻油分离,冷媒向排气口排出,冷冻油保留在压缩机中,降低压缩机含油率,达到提高空调换热效率,提升空调性能。

图片来源于网络,如有侵权,请联系删除
今年以来格力电器新获得专利授权2951个,较去年同期减少了7.81%。结合公司2024年年报财务数据,2024年公司在研发方面投入了69.04亿元,同比增2.1%。

图片来源于网络,如有侵权,请联系删除
通过天眼查大数据分析,珠海格力电器股份有限公司共对外投资了100家企业,参与招投标项目26607次;财产线索方面有商标信息8132条,专利信息115519条,著作权信息297条;此外企业还拥有行政许可828个。
数据来源:天眼查APP
以上内容为证券之星据公开信息整理,由AI算法生成(网信算备310104345710301240019号),不构成投资建议。
