格力电器获得发明专利授权:“一种多向广角导风装置及空调器”
作者:小微
发表于:2025年06月21日
浏览量:59093

图片来源于网络,如有侵权,请联系删除
证券之星消息,根据天眼查APP数据显示格力电器(000651)新获得一项发明专利授权,专利名为“一种多向广角导风装置及空调器”,专利申请号为CN202110118013.9,授权日为2025年6月20日。
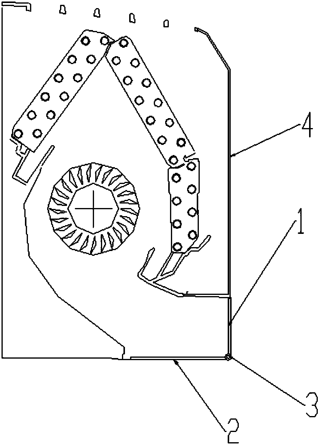
专利摘要:本发明公开了一种多向广角导风装置及空调器,所述装置包括设置在空调器的壳体上的左扫风叶片、右扫风叶片以及送风装置;所述送风装置包括第一连杆、第二连杆以及送风驱动机构;所述第一连杆与左扫风叶片卡扣连接;所述第二连杆与右扫风叶片卡扣连接;所述送风驱动机构包括滑杆、竖向驱动机构以及摆动驱动机构,其中,所述滑杆的上端分别通过第三连杆和第四连杆与第一连杆和第二连杆连接,所述竖向驱动机构用于驱动所述滑杆竖向运动以实现左扫风叶片和右扫风叶片反向摆动;所述摆动驱动机构用于驱动所述滑杆摆动以实现左扫风叶片和右扫风叶片同向摆动。本发明的多向广角导风装置可以实现广角多向送风,满足用户的不同送风需求。

图片来源于网络,如有侵权,请联系删除
今年以来格力电器新获得专利授权2951个,较去年同期减少了7.81%。结合公司2024年年报财务数据,2024年公司在研发方面投入了69.04亿元,同比增2.1%。

图片来源于网络,如有侵权,请联系删除
通过天眼查大数据分析,珠海格力电器股份有限公司共对外投资了100家企业,参与招投标项目26607次;财产线索方面有商标信息8132条,专利信息115519条,著作权信息297条;此外企业还拥有行政许可828个。
数据来源:天眼查APP
以上内容为证券之星据公开信息整理,由AI算法生成(网信算备310104345710301240019号),不构成投资建议。
