格力电器获得发明专利授权:“一种压缩机用的回油系统”
作者:小微
发表于:2025年06月21日
浏览量:62332

图片来源于网络,如有侵权,请联系删除
证券之星消息,根据天眼查APP数据显示格力电器(000651)新获得一项发明专利授权,专利名为“一种压缩机用的回油系统”,专利申请号为CN201911019639.3,授权日为2025年6月20日。
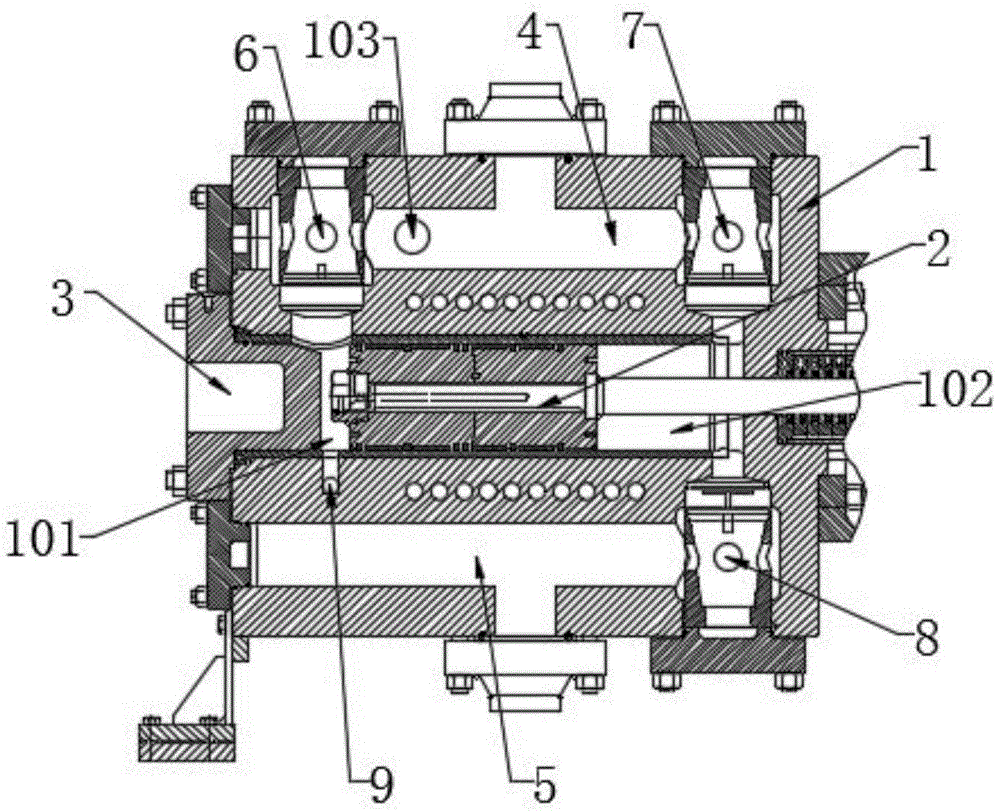
专利摘要:本发明涉及压缩机技术领域,具体涉及一种压缩机用的回油系统、压缩机及空调,其中压缩机用的回油系统包括压缩机壳体,与压缩机壳体连通的储液罐,设置在压缩机壳体内部的电机,设置于压缩机壳体上端部的上盖,设置于压缩机壳体底部的下盖,上盖与电机形成上腔,下盖与压缩机壳体之间形成油池,上腔和油池回油管连通,上腔内设置有用于将油导向回油管的油气分离收集组件。本发明的回油管将上腔和油池连通,同时在上腔内设置了油气分离收集组件,油气分离收集组件提高油气分离的效果,油可从回油管回流到油池中,避免了压缩机在运转的过程中,由于少油或者缺油导致的压缩机零部件磨损问题,延长了压缩机的使用寿命,提高了压缩机的可靠性。

图片来源于网络,如有侵权,请联系删除
今年以来格力电器新获得专利授权2951个,较去年同期减少了7.81%。结合公司2024年年报财务数据,2024年公司在研发方面投入了69.04亿元,同比增2.1%。

图片来源于网络,如有侵权,请联系删除
通过天眼查大数据分析,珠海格力电器股份有限公司共对外投资了100家企业,参与招投标项目26607次;财产线索方面有商标信息8132条,专利信息115519条,著作权信息297条;此外企业还拥有行政许可828个。
数据来源:天眼查APP
以上内容为证券之星据公开信息整理,由AI算法生成(网信算备310104345710301240019号),不构成投资建议。
