海尔智家获得发明专利授权:“用于螺钉固定的辅助装置”
作者:小微
发表于:2025年06月21日
浏览量:63357

图片来源于网络,如有侵权,请联系删除
证券之星消息,根据天眼查APP数据显示海尔智家(600690)新获得一项发明专利授权,专利名为“用于螺钉固定的辅助装置”,专利申请号为CN202110424245.7,授权日为2025年6月20日。
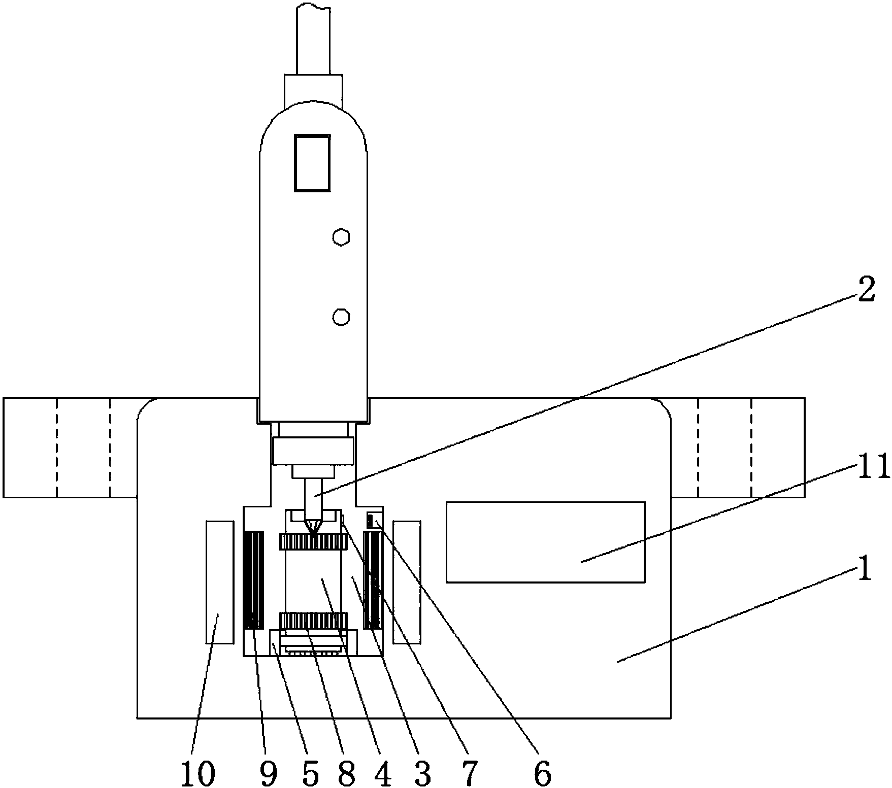
专利摘要:本申请涉及装配工具技术领域,公开一种用于螺钉固定的辅助装置,包括一套杆,套杆具有中空的内腔,充注有可在螺钉表面形成防护层的防护剂,套杆的前端用于装设螺钉头且前端设置有连通中空内腔的流道,后端可与螺钉旋入工具的旋转端连接并可使得套杆随旋转端同步旋转;其中,在套杆旋转时防护剂经由流道流向螺钉侧。本申请在螺钉旋入工具带动套杆同步转动以使螺钉旋入待固定件时,防护剂经由流道自中空内腔流向螺钉侧,并分布于螺钉头表面,形成新的保护涂层,从而对螺钉进行有效地保护。这样,提高了螺钉的防腐性和使用过程中的安全性。

图片来源于网络,如有侵权,请联系删除
今年以来海尔智家新获得专利授权2590个,较去年同期减少了23.3%。结合公司2024年年报财务数据,2024年公司在研发方面投入了107.4亿元,同比增3.47%。

图片来源于网络,如有侵权,请联系删除
通过天眼查大数据分析,海尔智家股份有限公司共对外投资了58家企业,参与招投标项目1660次;财产线索方面有商标信息357条,专利信息62903条,著作权信息53条;此外企业还拥有行政许可10个。
数据来源:天眼查APP
以上内容为证券之星据公开信息整理,由AI算法生成(网信算备310104345710301240019号),不构成投资建议。
