信维通信获得实用新型专利授权:“一种屏蔽罩”
作者:小微
发表于:2025年06月24日
浏览量:50926

图片来源于网络,如有侵权,请联系删除
证券之星消息,根据天眼查APP数据显示信维通信(300136)新获得一项实用新型专利授权,专利名为“一种屏蔽罩”,专利申请号为CN202421383460.2,授权日为2025年6月24日。
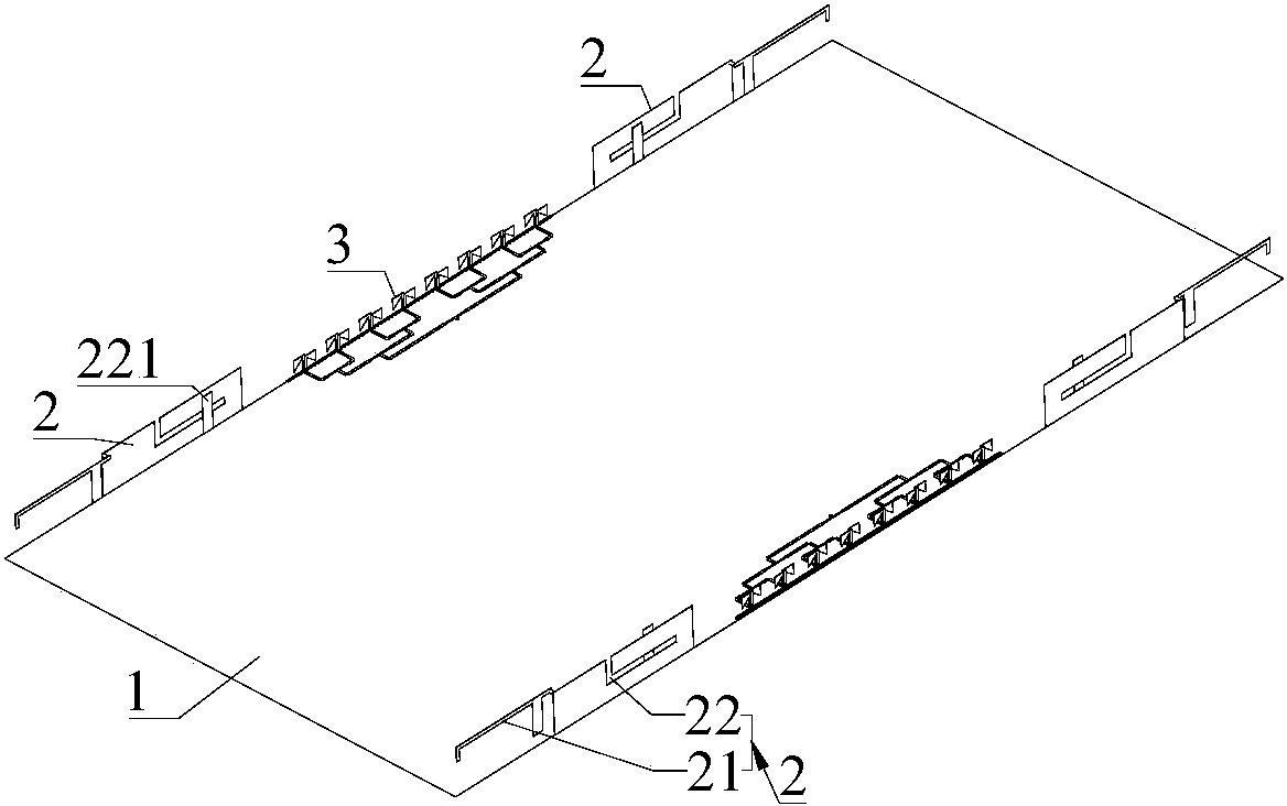
专利摘要:本实用新型公开了一种屏蔽罩,包括罩主体、盖板,罩主体用于与PCB板焊接,罩主体远离PCB板的一侧设有围框、位于围框内侧的开口,盖板用于封闭开口;盖板的侧面设有相间设置的挡片与弹片,挡片贴合于围框的一侧,弹片伸入开口与围框的另一侧贴合。本实用新型通过在盖板的侧面设置相间的挡片与弹片,挡片与弹片分别贴合于围挡的两侧,通过弹片的弹力作用,挡片与弹片能够对围挡产生夹持力,从而可将盖板固定于罩主体上,此种固定方式简单,且盖板无需套设在罩主体上,不会使屏蔽罩的侧壁变厚,有利于屏蔽罩的散热;且盖板的尺寸足够封闭开口即可,用料更少,成本更低。

图片来源于网络,如有侵权,请联系删除
今年以来信维通信新获得专利授权106个,较去年同期减少了11.67%。结合公司2024年年报财务数据,2024年公司在研发方面投入了6.77亿元,同比增4.19%。

图片来源于网络,如有侵权,请联系删除
通过天眼查大数据分析,深圳市信维通信股份有限公司共对外投资了20家企业,参与招投标项目31次;财产线索方面有商标信息39条,专利信息2188条,著作权信息4条;此外企业还拥有行政许可57个。
数据来源:天眼查APP
以上内容为证券之星据公开信息整理,由AI算法生成(网信算备310104345710301240019号),不构成投资建议。
