恒星科技获得实用新型专利授权:“一种金刚线收线用计米装置”
作者:小微
发表于:2025年06月27日
浏览量:66407

图片来源于网络,如有侵权,请联系删除
证券之星消息,根据天眼查APP数据显示恒星科技(002132)新获得一项实用新型专利授权,专利名为“一种金刚线收线用计米装置”,专利申请号为CN202422309291.4,授权日为2025年6月27日。
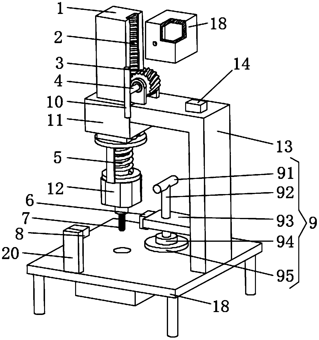
专利摘要:本实用新型属于金刚线生产技术领域,具体涉及一种金刚线收线用计米装置,设置在计米轮轴上,包括轴承、安装圈、计米轮和螺钉,所述计米轮轴一端套设有轴承,所述轴承一端的外周固定套设有安装圈,所述安装圈上轴向布设有螺孔,所述计米轮固定套设在轴承上;所述计米轮上周向开设有多个弧形孔和圆孔,相邻的弧形孔一端与圆孔连通,所述螺钉的杆身穿过弧形孔与对应螺孔螺纹连接,所述圆孔直径大于螺钉的头部直径。本实用新型通过在轴承外侧设置安装圈,并使计米轮与安装圈孩子就爱你通过螺钉实现固定连接即可实现计米轮安装,拆卸时只需拧松螺钉即可拆卸计米轮,无需拆卸轴承,结构简单,使用方便。

图片来源于网络,如有侵权,请联系删除
今年以来恒星科技新获得专利授权14个,较去年同期增加了180%。结合公司2024年年报财务数据,2024年公司在研发方面投入了1.71亿元,同比增12.03%。
通过天眼查大数据分析,河南恒星科技股份有限公司共对外投资了20家企业,参与招投标项目180次;财产线索方面有商标信息25条,专利信息246条;此外企业还拥有行政许可129个。
数据来源:天眼查APP
以上内容为证券之星据公开信息整理,由AI算法生成(网信算备310104345710301240019号),不构成投资建议。
