华塑股份获得实用新型专利授权:“一种基于燃煤机组脱硝系统的氨气加注装置”
作者:小微
发表于:2025年07月01日
浏览量:49600

图片来源于网络,如有侵权,请联系删除
证券之星消息,根据天眼查APP数据显示华塑股份(600935)新获得一项实用新型专利授权,专利名为“一种基于燃煤机组脱硝系统的氨气加注装置”,专利申请号为CN202422043975.4,授权日为2025年7月1日。
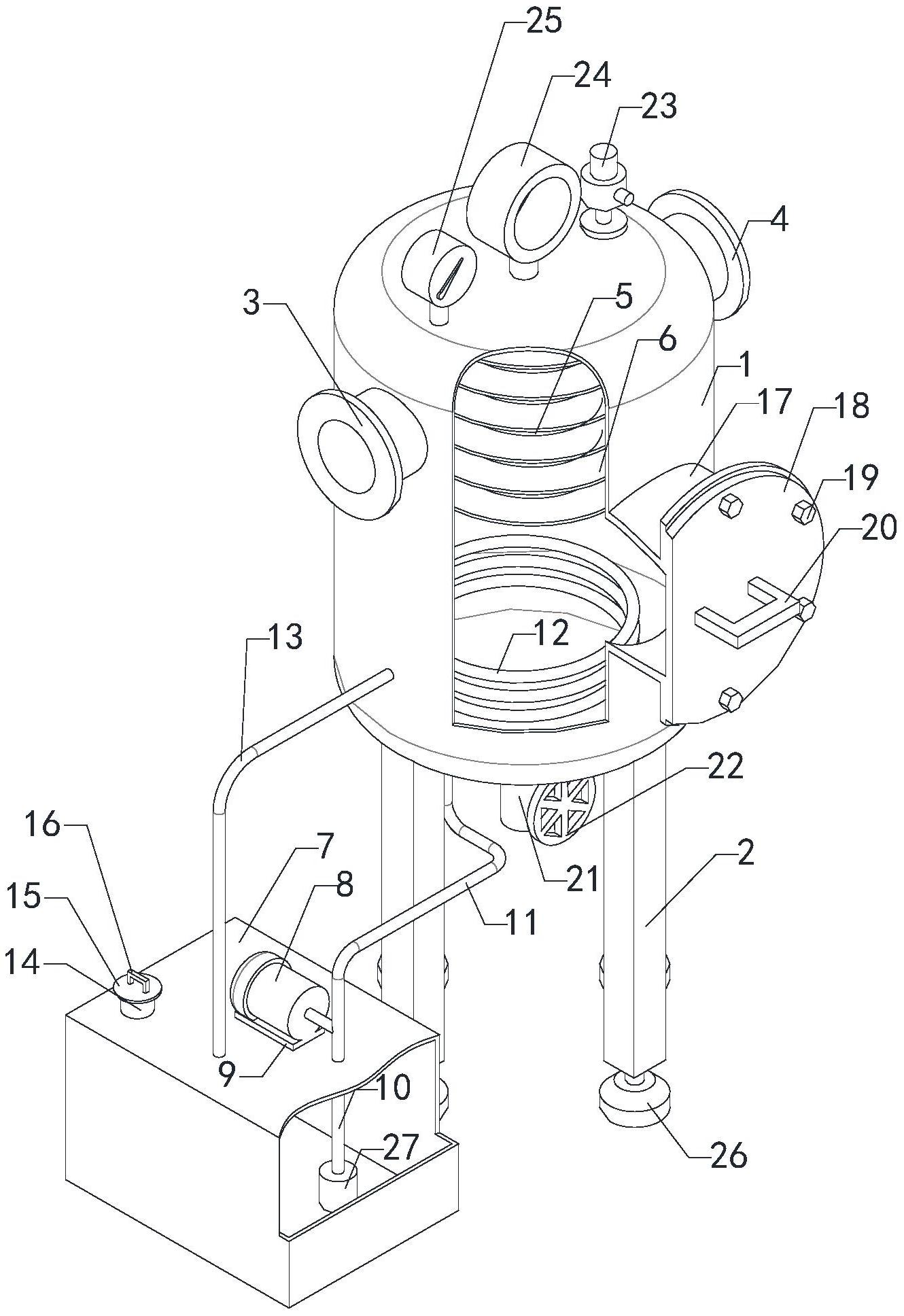
专利摘要:本实用新型公开了一种基于燃煤机组脱硝系统的氨气加注装置,包括底座,底座顶端的一侧设有基板,基板顶端的中心位置处设有存储罐,存储罐顶端的一侧设有温度计量表,温度计量表一侧的存储罐顶端设有压力计量表,压力计量表一侧的存储罐顶端设有排气管,基板一侧的底座顶端设有置件框,置件框的内部插接安装有加注器,加注器的一端延伸至置件框的外部并设有加注软管,置件框远离基板一侧的底座顶端设有推柄,推柄上端的一侧外壁上设有置件座。本实用新型不仅提高了加注装置使用时的安全性,还能够根据燃煤机组的脱硝需求按需调节氨气的加注速率,以提升加注装置使用时的便捷性,而且达到了易于对加注装置进行转运的目的。

图片来源于网络,如有侵权,请联系删除
今年以来华塑股份新获得专利授权23个,较去年同期增加了228.57%。结合公司2024年年报财务数据,2024年公司在研发方面投入了2.12亿元,同比减9.79%。

图片来源于网络,如有侵权,请联系删除
通过天眼查大数据分析,安徽华塑股份有限公司共对外投资了4家企业,参与招投标项目23889次;财产线索方面有商标信息14条,专利信息527条,著作权信息16条;此外企业还拥有行政许可138个。
数据来源:天眼查APP
以上内容为证券之星据公开信息整理,由AI算法生成(网信算备310104345710301240019号),不构成投资建议。
