奥特维获得实用新型专利授权:“一种焊带压紧装置及串接机”
作者:小微
发表于:2025年07月01日
浏览量:60047

图片来源于网络,如有侵权,请联系删除
证券之星消息,根据天眼查APP数据显示奥特维(688516)新获得一项实用新型专利授权,专利名为“一种焊带压紧装置及串接机”,专利申请号为CN202420191564.7,授权日为2025年7月1日。
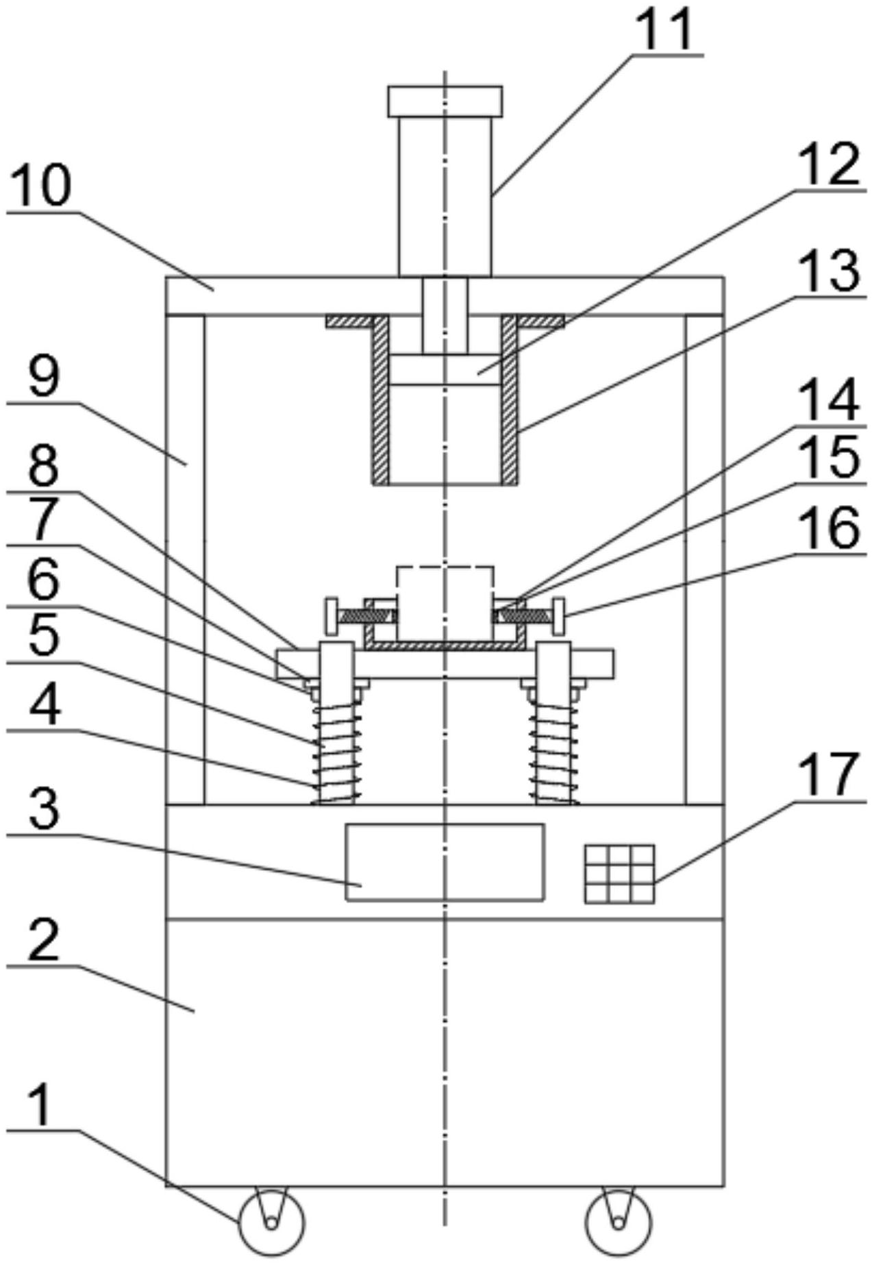
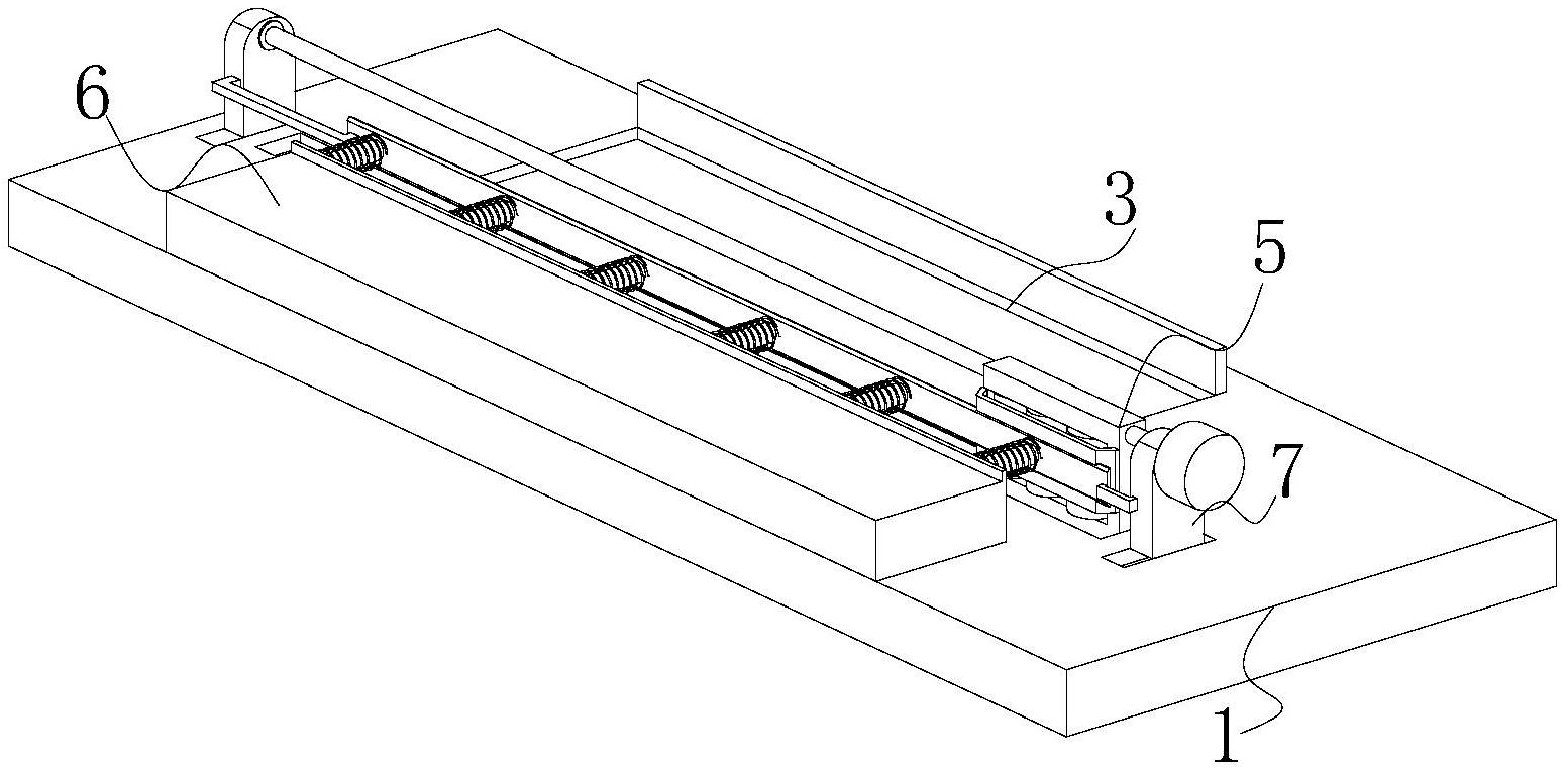
专利摘要:本申请提供了一种焊带压紧装置及串接机,其中的焊带压紧装置包括框架;沿第一水平方向间隔设置在框架上的至少两个压针排,每个压针排均用于将一根焊带压紧至电池片上,每个压针排均包括沿第二水平方向间隔排布的多个压针,第二水平方向垂直于第一水平方向;压针包括针体及沿第二水平方向相对连接在针体下端的第一压脚和第二压脚,第一压脚和第二压脚用于压紧焊带。本申请提供的焊带压紧装置,压针的第一压脚和第二压脚在压紧焊带时可避开胶点,防止胶点被压针压住,最终确保焊带经固化的胶点牢固地粘接至电池片上。

图片来源于网络,如有侵权,请联系删除
今年以来奥特维新获得专利授权145个,较去年同期增加了10.69%。结合公司2024年年报财务数据,2024年公司在研发方面投入了4.3亿元,同比增31.49%。

图片来源于网络,如有侵权,请联系删除
通过天眼查大数据分析,无锡奥特维科技股份有限公司共对外投资了19家企业,参与招投标项目161次;财产线索方面有商标信息77条,专利信息1442条,著作权信息58条;此外企业还拥有行政许可143个。
数据来源:天眼查APP
以上内容为证券之星据公开信息整理,由AI算法生成(网信算备310104345710301240019号),不构成投资建议。
