中国石化获得实用新型专利授权:“一种高含硫气田两相分离装置”
作者:小微
发表于:2025年07月15日
浏览量:62614

图片来源于网络,如有侵权,请联系删除
证券之星消息,根据天眼查APP数据显示中国石化(600028)新获得一项实用新型专利授权,专利名为“一种高含硫气田两相分离装置”,专利申请号为CN202421943738.7,授权日为2025年7月15日。
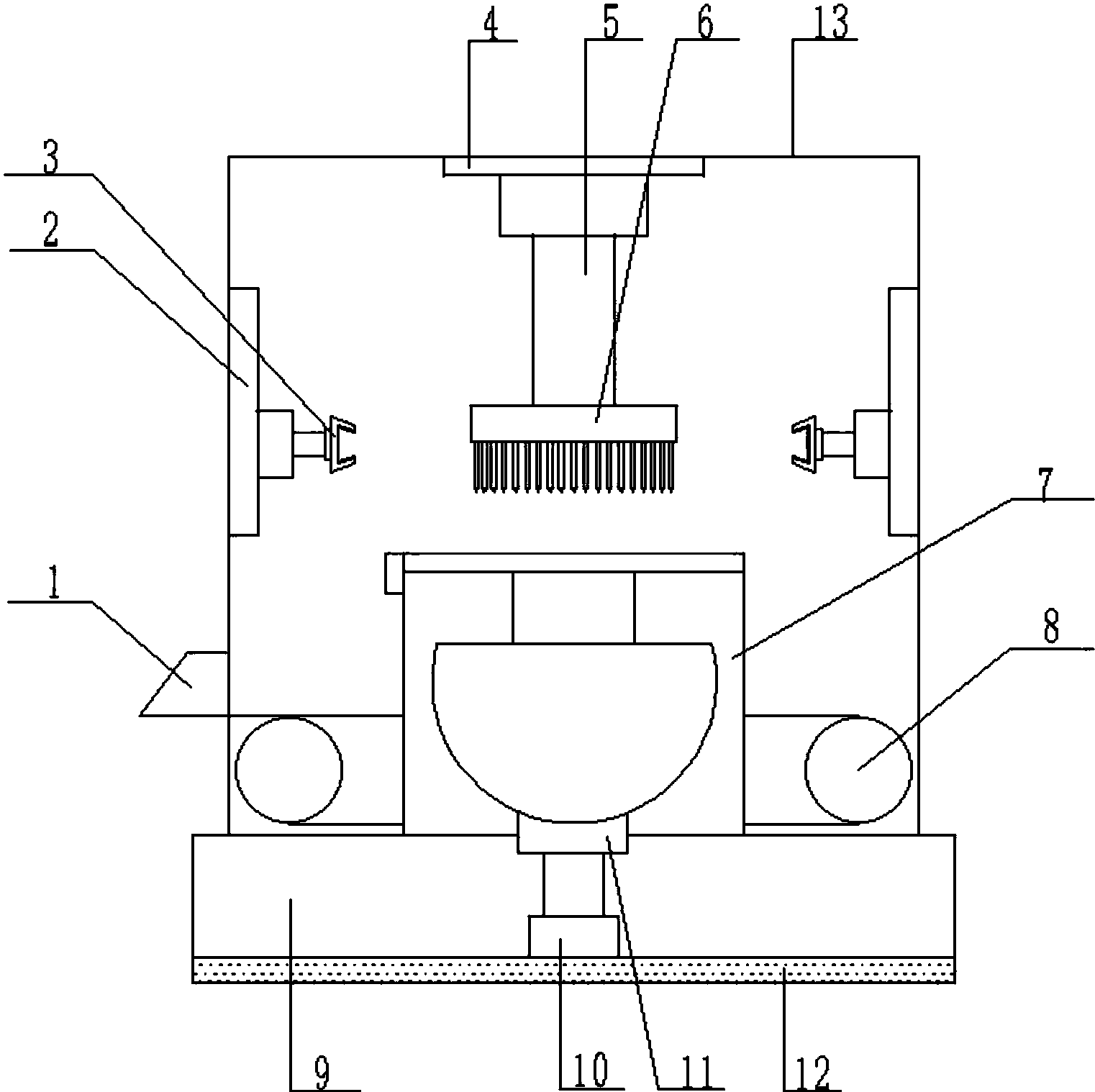
专利摘要:本实用新型涉及气田设备领域,具体涉及一种高含硫气田两相分离装置,该分离装置包括分离器,分离器包括气液入口端,分离器顶部设有排气口,分离器内部设有两相分离部,两相分离部一端与气液入口端连通,两相分离部包括若干个子分离部,子分离部将两相分离部分割为若干个扁平空间,两相分离部内设有TP板组,子分离部位于两相分离部靠近排气口的一端,TP板组位于两相分离部靠近气液入口端的一端,分离器上设有排液口,排液口位于TP板组的下方区域,排液口与两相分离部连通,这样设置使得气液混合物能够在扁平空间中凝结为水滴,水滴由于自重实现下沉,而分离出水滴后的气体上升,从排气口排出,实现两相分离,提高分离效率。

图片来源于网络,如有侵权,请联系删除
今年以来中国石化新获得专利授权1735个,较去年同期减少了45.34%。结合公司2024年年报财务数据,2024年公司在研发方面投入了152.15亿元,同比增8.92%。

图片来源于网络,如有侵权,请联系删除
通过天眼查大数据分析,中国石油化工股份有限公司共对外投资了263家企业,参与招投标项目15453次;财产线索方面有商标信息106条,专利信息88532条,著作权信息1140条;此外企业还拥有行政许可40个。
数据来源:天眼查APP
以上内容为证券之星据公开信息整理,由AI算法生成(网信算备310104345710301240019号),不构成投资建议。
