苏交科获得发明专利授权:“一种自锁式预制桥墩连接构造及其拼装拆卸方法”
作者:小微
发表于:2025年07月19日
浏览量:54119

图片来源于网络,如有侵权,请联系删除
证券之星消息,根据天眼查APP数据显示苏交科(300284)新获得一项发明专利授权,专利名为“一种自锁式预制桥墩连接构造及其拼装拆卸方法”,专利申请号为CN202310956100.0,授权日为2025年7月18日。
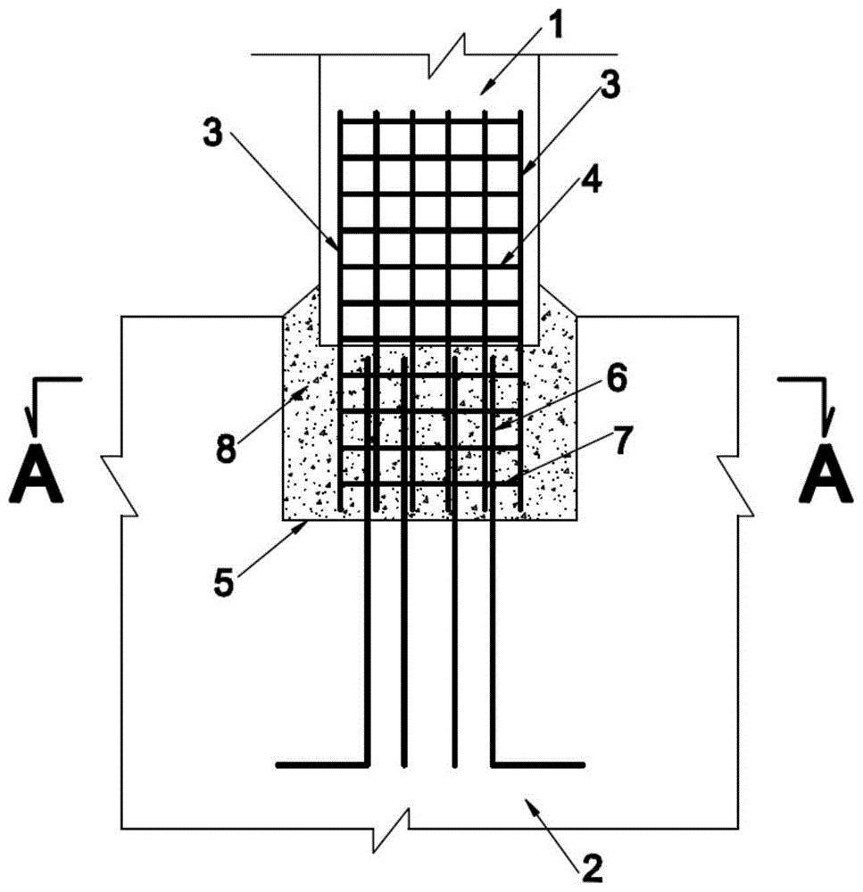
专利摘要:本发明公开了一种自锁式预制桥墩连接构造及其拼装拆卸方法,在自锁式连接状态,下部自锁柱置于自锁槽空腔内且圆锥槽套合于圆锥台上,自锁柱两层所述第一凸缘在顺时或逆时旋转一定角度后分别置于承台第一凸缘下两层环状槽腔内,所述上部柱体的底面完全覆盖承台顶面的自锁槽,上部柱体底面和承台顶面之间配置有一个套设于自锁槽周围的密封止水条,所述密封止水条内侧的承台顶面与上部柱体底面之间撒设有水泥黄沙混合物,所述密封止水条外侧至所述上部主体底部外侧之间灌注有一圈水泥砂浆。

图片来源于网络,如有侵权,请联系删除
今年以来苏交科新获得专利授权53个,较去年同期减少了18.46%。结合公司2024年年报财务数据,2024年公司在研发方面投入了2.59亿元,同比减10.82%。

图片来源于网络,如有侵权,请联系删除
通过天眼查大数据分析,苏交科集团股份有限公司共对外投资了114家企业,参与招投标项目26379次;财产线索方面有商标信息113条,专利信息1403条,著作权信息283条;此外企业还拥有行政许可113个。
数据来源:天眼查APP
以上内容为证券之星据公开信息整理,由AI算法生成(网信算备310104345710301240019号),不构成投资建议。
