联影医疗获得实用新型专利授权:“成像装置和放射递送系统”
作者:小微
发表于:2025年07月22日
浏览量:69978

图片来源于网络,如有侵权,请联系删除
证券之星消息,根据天眼查APP数据显示联影医疗(688271)新获得一项实用新型专利授权,专利名为“成像装置和放射递送系统”,专利申请号为CN202421445992.4,授权日为2025年7月22日。
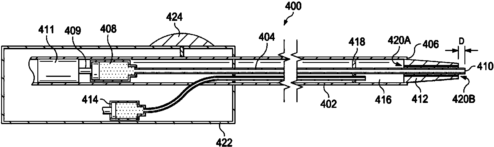
专利摘要:本申请涉及一种成像装置和放射递送系统,该成像装置包括一个或多个成像源;以及经拼接相组合的多个探测器,用于接收由一个或多个成像源发射的成像束。本申请提供的成像装置通过拼接设置多个探测器来接收由成像源发射的成像束,这样的设计成本较低,且灵活性高。

图片来源于网络,如有侵权,请联系删除
今年以来联影医疗新获得专利授权151个,较去年同期减少了27.05%。结合公司2024年年报财务数据,2024年公司在研发方面投入了17.61亿元,同比增1.9%。

图片来源于网络,如有侵权,请联系删除
通过天眼查大数据分析,上海联影医疗科技股份有限公司共对外投资了21家企业,参与招投标项目7618次;财产线索方面有商标信息854条,专利信息5383条,著作权信息91条;此外企业还拥有行政许可433个。
数据来源:天眼查APP
以上内容为证券之星据公开信息整理,由AI算法生成(网信算备310104345710301240019号),不构成投资建议。
