先导智能获得发明专利授权:“一种加工处理系统及其上下料方法”
作者:小微
发表于:2025年07月23日
浏览量:65050

图片来源于网络,如有侵权,请联系删除
证券之星消息,根据天眼查APP数据显示先导智能(300450)新获得一项发明专利授权,专利名为“一种加工处理系统及其上下料方法”,专利申请号为CN202210766374.9,授权日为2025年7月8日。
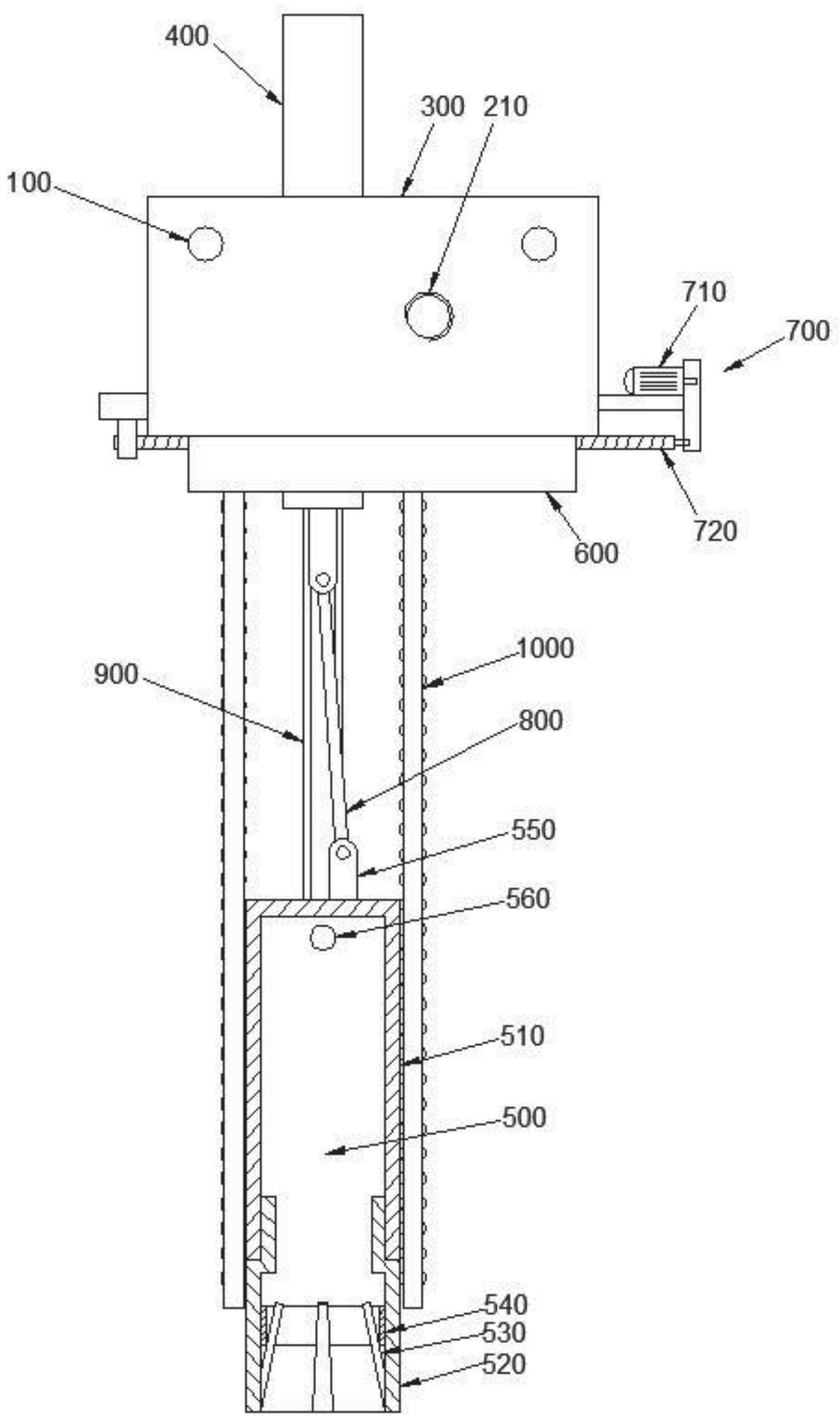
专利摘要:本发明涉及一种加工处理系统及其上下料方法。该加工处理系统包括:装夹装置,包括第一夹具和第二夹具,第一夹具在第一上料工位、第一加工工位及第一下料工位之间移动,第二夹具在第二上料工位、第二加工工位及第二下料工位之间移动;加工装置,用于在第一加工工位和第二加工工位对第一元件进行加工处理;及上下料装置,包括第一机械手及第二机械手;其中,在第一下料工位,第一机械手用于拾取第一夹具上的第二元件;在第二上料工位,第一机械手还用于将第一元件和第二元件上料至第二夹具上;在第二下料工位,第二机械手用于拾取第二夹具上的第二元件;在第一上料工位,第二机械手还用于将第一元件和第二元件上料至第一夹具上。

图片来源于网络,如有侵权,请联系删除
今年以来先导智能新获得专利授权255个,较去年同期增加了13.33%。结合公司2024年年报财务数据,2024年公司在研发方面投入了16.71亿元,同比减0.29%。
通过天眼查大数据分析,无锡先导智能装备股份有限公司共对外投资了10家企业,参与招投标项目380次;财产线索方面有商标信息331条,专利信息2971条,著作权信息185条;此外企业还拥有行政许可244个。
数据来源:天眼查APP
以上内容为证券之星据公开信息整理,由AI算法生成(网信算备310104345710301240019号),不构成投资建议。
