中国石化获得发明专利授权:“一种抽油机杆柱调节装置及方法”
作者:小微
发表于:2025年07月26日
浏览量:67907

图片来源于网络,如有侵权,请联系删除
证券之星消息,根据天眼查APP数据显示中国石化(600028)新获得一项发明专利授权,专利名为“一种抽油机杆柱调节装置及方法”,专利申请号为CN202110731315.3,授权日为2025年7月25日。
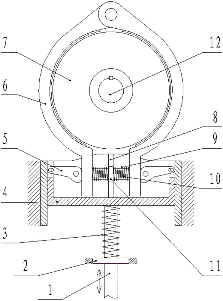
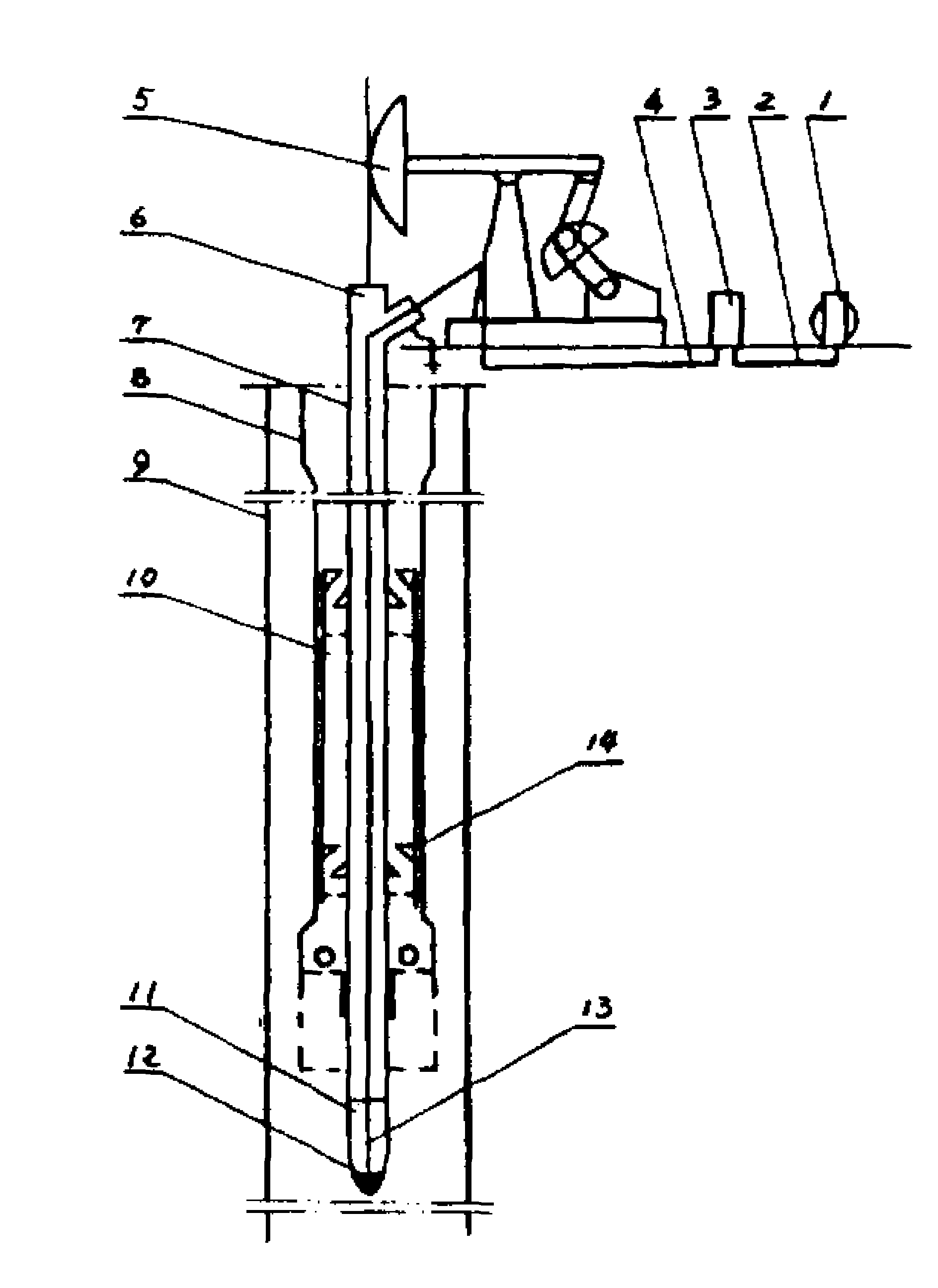
专利摘要:本发明公开了一种抽油机杆柱调节装置及方法,装置包括施力机构、固定机构、传动机构;所述传动机构上端连接悬绳器,并且传动机构与施力机构传动式连接;所述固定机构固定住光杆;所述施力机构带动固定机构上升。本发明安装便捷,借助现有悬绳器、光杆作为承载点,柔性拉绳连接方便,可适应不同悬绳器高度要求;采用蜗杆驱动蜗轮螺母旋转,省时省力;本发明简化操作程序,规避常规操作人员受伤害几率;本发明结构简单,无需卸掉悬绳器方卡子,即可实现抽油机杆柱快速平稳调节,具有非常广泛的应用前景。

图片来源于网络,如有侵权,请联系删除
今年以来中国石化新获得专利授权1847个,较去年同期减少了45.39%。结合公司2024年年报财务数据,2024年公司在研发方面投入了152.15亿元,同比增8.92%。

图片来源于网络,如有侵权,请联系删除
通过天眼查大数据分析,中国石油化工股份有限公司共对外投资了263家企业,参与招投标项目15584次;财产线索方面有商标信息106条,专利信息88707条,著作权信息1164条;此外企业还拥有行政许可40个。
数据来源:天眼查APP
以上内容为证券之星据公开信息整理,由AI算法生成(网信算备310104345710301240019号),不构成投资建议。
