永创智能获得实用新型专利授权:“一种灌装夹持装置的升降机构”
作者:小微
发表于:2025年08月05日
浏览量:73022

图片来源于网络,如有侵权,请联系删除
证券之星消息,根据天眼查APP数据显示永创智能(603901)新获得一项实用新型专利授权,专利名为“一种灌装夹持装置的升降机构”,专利申请号为CN202422479713.2,授权日为2025年8月5日。
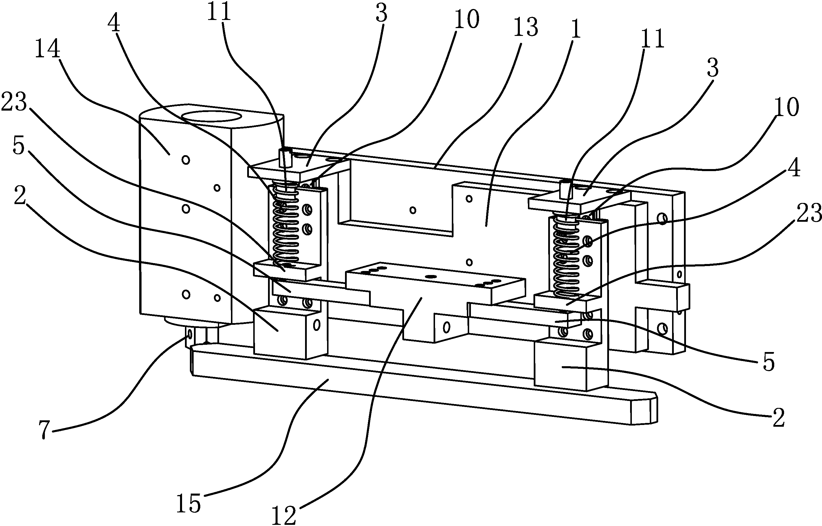
专利摘要:本实用新型提供了一种灌装夹持装置的升降机构。它解决了现有灌装设备需要夹持不同型号瓶口的瓶子,不同型号瓶口处支撑环的厚度不同,但通常瓶夹组件的高度无法调节,不同型号瓶口处的支撑环会撞击在瓶夹组件上,导致装夹失败的问题。本实用新型通过设置在瓶夹支架上的瓶夹组件对瓶口进行夹持,在更换不同型号的瓶子时,通过顶升组件顶升上支架后带动瓶夹组件进行高度调节,调节至需要的高度后,通过限位组件完成上支架高度的限定,能够进行调节,适应不同型号的瓶口。

图片来源于网络,如有侵权,请联系删除
今年以来永创智能新获得专利授权39个,较去年同期减少了25%。结合公司2024年年报财务数据,2024年公司在研发方面投入了2.54亿元,同比增5.85%。

图片来源于网络,如有侵权,请联系删除
通过天眼查大数据分析,杭州永创智能设备股份有限公司共对外投资了44家企业,参与招投标项目984次;财产线索方面有商标信息79条,专利信息956条,著作权信息78条;此外企业还拥有行政许可41个。
数据来源:天眼查APP
以上内容为证券之星据公开信息整理,由AI算法生成(网信算备310104345710301240019号),不构成投资建议。
