华帝股份获得外观设计专利授权:“火盖(Q927)”
作者:小微
发表于:2025年08月08日
浏览量:73165

图片来源于网络,如有侵权,请联系删除
证券之星消息,根据天眼查APP数据显示华帝股份(002035)新获得一项外观设计专利授权,专利名为“火盖(Q927)”,专利申请号为CN202430752483.5,授权日为2025年8月8日。
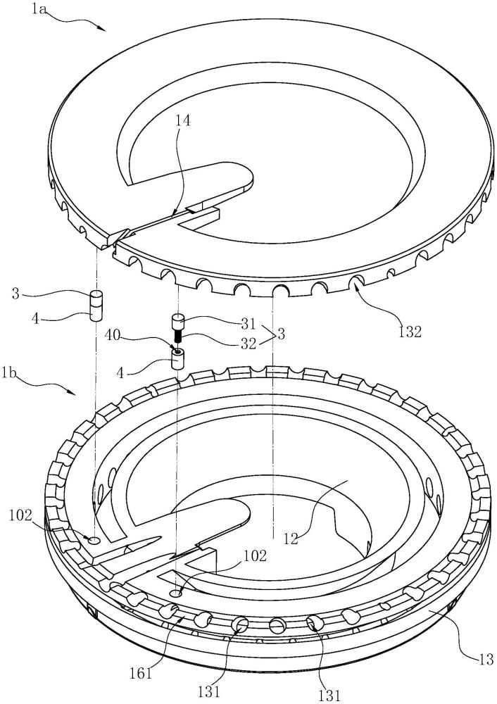
专利摘要:1.本外观设计产品的名称:火盖(Q927)。2.本外观设计产品的用途:用于燃气灶。3.本外观设计产品的设计要点:在于形状。4.最能表明设计要点的图片或照片:立体图。
今年以来华帝股份新获得专利授权593个,较去年同期增加了11.47%。结合公司2024年年报财务数据,2024年公司在研发方面投入了2.63亿元,同比增6.14%。
通过天眼查大数据分析,华帝股份有限公司共对外投资了19家企业,参与招投标项目377次;财产线索方面有商标信息904条,专利信息8564条,著作权信息152条;此外企业还拥有行政许可85个。
数据来源:天眼查APP
以上内容为证券之星据公开信息整理,由AI算法生成(网信算备310104345710301240019号),不构成投资建议。
