宇通客车获得实用新型专利授权:“一种解锁装置以及座椅”
作者:小微
发表于:2025年08月08日
浏览量:50599

图片来源于网络,如有侵权,请联系删除
证券之星消息,根据天眼查APP数据显示宇通客车(600066)新获得一项实用新型专利授权,专利名为“一种解锁装置以及座椅”,专利申请号为CN202422167374.4,授权日为2025年8月8日。
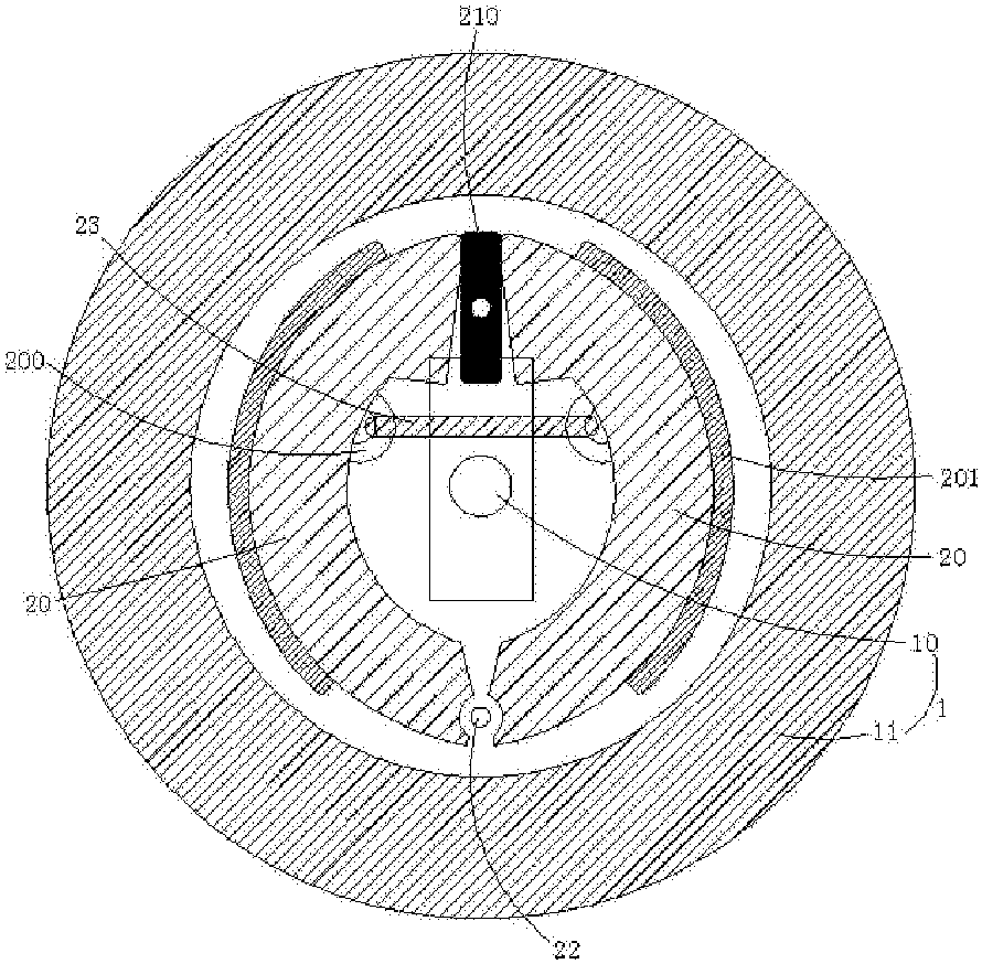
专利摘要:本实用新型提供一种解锁装置以及座椅,包括座椅底架、滑动设置在座椅底架上的座椅框架、间隔设置的至少两个卡槽以及与卡槽配合的锁定件;所述座椅框架上转动设置拨片,所述拨片和座椅框架之间设置弹性复位件;所述卡槽和锁定件任一与拨片固定连接、另外一个设置在座椅底架上或者与座椅底架固定连接。所述座椅框架上固定设置限位支架,所述限位支架内转动设置转动轴,所述转动轴一端固定设置所述拨片、另一端固定设置锁止板,至少两个卡槽设置在所述锁止板上;所述座椅底架上固定设置所述锁定件。本实用新型中拨片作为受力转动从而解锁解锁装置的解锁件,拨片设置在座椅上随着座椅横向移动,更容易操作。

图片来源于网络,如有侵权,请联系删除
今年以来宇通客车新获得专利授权88个,较去年同期减少了34.81%。结合公司2024年年报财务数据,2024年公司在研发方面投入了17.88亿元,同比增14.07%。
通过天眼查大数据分析,宇通客车股份有限公司共对外投资了67家企业,参与招投标项目11038次;财产线索方面有商标信息784条,专利信息4736条,著作权信息248条;此外企业还拥有行政许可917个。
数据来源:天眼查APP
以上内容为证券之星据公开信息整理,由AI算法生成(网信算备310104345710301240019号),不构成投资建议。
