隆基绿能获得实用新型专利授权:“光伏网架及光伏系统”
作者:小微
发表于:2025年08月08日
浏览量:59858

图片来源于网络,如有侵权,请联系删除
证券之星消息,根据天眼查APP数据显示隆基绿能(601012)新获得一项实用新型专利授权,专利名为“光伏网架及光伏系统”,专利申请号为CN202421642453.X,授权日为2025年8月8日。
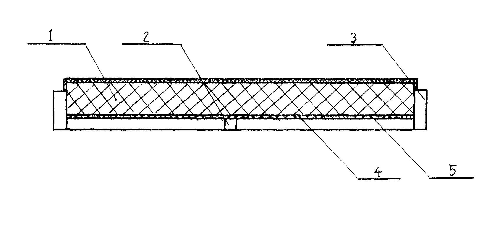
专利摘要:本实用新型公开了一种光伏网架及光伏系统,光伏网架包括网架本体,网架本体包括多个杆件和多个节点连接件,节点连接件与杆件可拆卸连接,节点连接件连接至少两个杆件;节点连接件包括壳体、套筒和固定骨架,杆件的材质为第一复合材料,壳体的材质为第二复合材料;第一复合材料和第二复合材料为晶须复合材料、玄武岩纤维复合材料、碳纤维复合材料、玻璃纤维复合材料中的任一种。本实用新型实施例中,光伏网架中的网架本体采用复合材料,复合材料的耐腐蚀、耐盐雾性能好,采用该复合材料的光伏网架在海上场景安装后可实现全生命周期服役,无需定期进行防腐维护,从而降低了防腐和维护成本。

图片来源于网络,如有侵权,请联系删除
今年以来隆基绿能新获得专利授权257个,较去年同期增加了29.8%。结合公司2024年年报财务数据,2024年公司在研发方面投入了18.15亿元,同比减20.48%。

图片来源于网络,如有侵权,请联系删除
通过天眼查大数据分析,隆基绿能科技股份有限公司共对外投资了35家企业,参与招投标项目346次;财产线索方面有商标信息283条,专利信息2026条,著作权信息42条;此外企业还拥有行政许可57个。
数据来源:天眼查APP
以上内容为证券之星据公开信息整理,由AI算法生成(网信算备310104345710301240019号),不构成投资建议。
