河钢股份获得实用新型专利授权:“一种用于金属板材抗凹性能试样的成形模具”
作者:小微
发表于:2026年01月24日
浏览量:59879

图片来源于网络,如有侵权,请联系删除
证券之星消息,根据天眼查APP数据显示河钢股份(000709)新获得一项实用新型专利授权,专利名为“一种用于金属板材抗凹性能试样的成形模具”,专利申请号为CN202520114623.5,授权日为2026年1月23日。
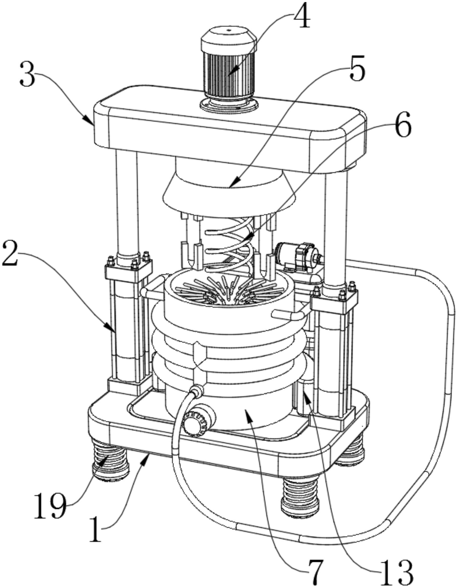
专利摘要:本实用新型涉及一种用于金属板材抗凹性能试样的成形模具,属于冶金行业金属材料检测试样加工技术领域。技术方案是:凸模(5)安装在凸模底座(1)上,凹模(8)安装在凹模底座(3)上,凸模底座(1)和凹模底座(3)上下布置,凸模底座(1)和凹模底座(3)之间通过导向柱(2)相连接;压边圈(7)通过若干个压边圈拉杆(4)安装在凸模底座(1)上,每个压边圈拉杆(4)上均套有一个压边弹簧(6);所述压边圈(7)的直径大于凸模(5)的直径,压边圈拉杆(4)沿着压边圈(7)的圆周方向均匀设置。本实用新型的有益效果是:能够实现模拟覆盖件试样的加工,可在单动液压机或机械压力机上使用,满足样面内预变形的要求,加工试样准确高效。

图片来源于网络,如有侵权,请联系删除
今年以来河钢股份新获得专利授权11个,较去年同期增加了120%。结合公司2025年中报财务数据,2025上半年公司在研发方面投入了9.39亿元,同比增3.09%。

图片来源于网络,如有侵权,请联系删除
通过天眼查大数据分析,河钢股份有限公司共对外投资了39家企业,参与招投标项目1840次;财产线索方面有商标信息13条,专利信息1492条,著作权信息65条;此外企业还拥有行政许可4个。
数据来源:天眼查APP
以上内容为证券之星据公开信息整理,由AI算法生成(网信算备310104345710301240019号),不构成投资建议。
