中国汽研获得实用新型专利授权:“一种主动稳定杆测试装置”
作者:小微
发表于:2026年01月24日
浏览量:66663

图片来源于网络,如有侵权,请联系删除
证券之星消息,根据天眼查APP数据显示中国汽研(601965)新获得一项实用新型专利授权,专利名为“一种主动稳定杆测试装置”,专利申请号为CN202520516274.X,授权日为2026年1月23日。
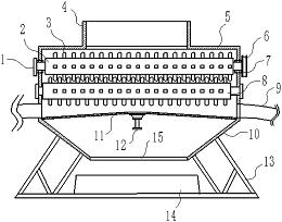
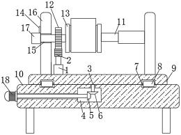
专利摘要:本实用新型涉及主动稳定杆性能测试技术领域,尤其涉及一种主动稳定杆测试装置。测试装置包括测试基座和测试组件,测试基座的左右两端均安装有测试组件,测试组件包括测试支架、中心轴、弹簧,中心轴活动插接设置在所述测试支架上,中心轴上设有第一限位组件,弹簧套设在所述中心轴上,弹簧设于测试支架内,弹簧的下端抵接于第一限位组件、上端抵接于测试支架,主动稳定杆的两端各与一个中心轴的下端连接,主动稳定杆的中部还被测试基座支撑。本实用新型的一种主动稳定杆测试装置,该装置包括有与减震臂结构高度相近的测试组件,测试人员可以将主动稳定杆连接到测试组件,从而高度还原主动稳定杆工作环境,从而准确检测主动稳定杆工作性能。

图片来源于网络,如有侵权,请联系删除
今年以来中国汽研新获得专利授权1个,较去年同期减少了88.89%。结合公司2025年中报财务数据,2025上半年公司在研发方面投入了1.18亿元,同比增16.49%。

图片来源于网络,如有侵权,请联系删除
通过天眼查大数据分析,中国汽车工程研究院股份有限公司共对外投资了38家企业,参与招投标项目9484次;财产线索方面有商标信息620条,专利信息2094条,著作权信息446条;此外企业还拥有行政许可100个。
数据来源:天眼查APP
以上内容为证券之星据公开信息整理,由AI算法生成(网信算备310104345710301240019号),不构成投资建议。
