宁德时代获得实用新型专利授权:“揉平装置及电池制造设备”
作者:小微
发表于:2026年02月03日
浏览量:81943

图片来源于网络,如有侵权,请联系删除
证券之星消息,根据天眼查APP数据显示宁德时代(300750)新获得一项实用新型专利授权,专利名为“揉平装置及电池制造设备”,专利申请号为CN202390000383.5,授权日为2026年2月3日。
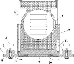
专利摘要:本申请公开一种揉平装置及电池制造设备,上述揉平装置包括揉平组件(100),揉平组件(100)包括揉平件(110)和振动驱动器(120),振动驱动器(120)用于驱动揉平件(110)沿预设方向振动,以使揉平件(110)于上述预设方向上挤压工件的待揉平部位。
今年以来宁德时代新获得专利授权605个,较去年同期增加了89.06%。结合公司2025年中报财务数据,2025上半年公司在研发方面投入了100.95亿元,同比增17.48%。
通过天眼查大数据分析,宁德时代新能源科技股份有限公司共对外投资了143家企业,参与招投标项目595次;财产线索方面有商标信息1335条,专利信息22564条,著作权信息463条;此外企业还拥有行政许可1013个。
数据来源:天眼查APP
以上内容为证券之星据公开信息整理,由AI算法生成(网信算备310104345710301240019号),不构成投资建议。
