顾家家居获得实用新型专利授权:“一种带有隐藏脚托功能的底座及椅子”
作者:小微
发表于:2026年02月06日
浏览量:73650

图片来源于网络,如有侵权,请联系删除
证券之星消息,根据天眼查APP数据显示顾家家居(603816)新获得一项实用新型专利授权,专利名为“一种带有隐藏脚托功能的底座及椅子”,专利申请号为CN202520324809.3,授权日为2026年2月6日。
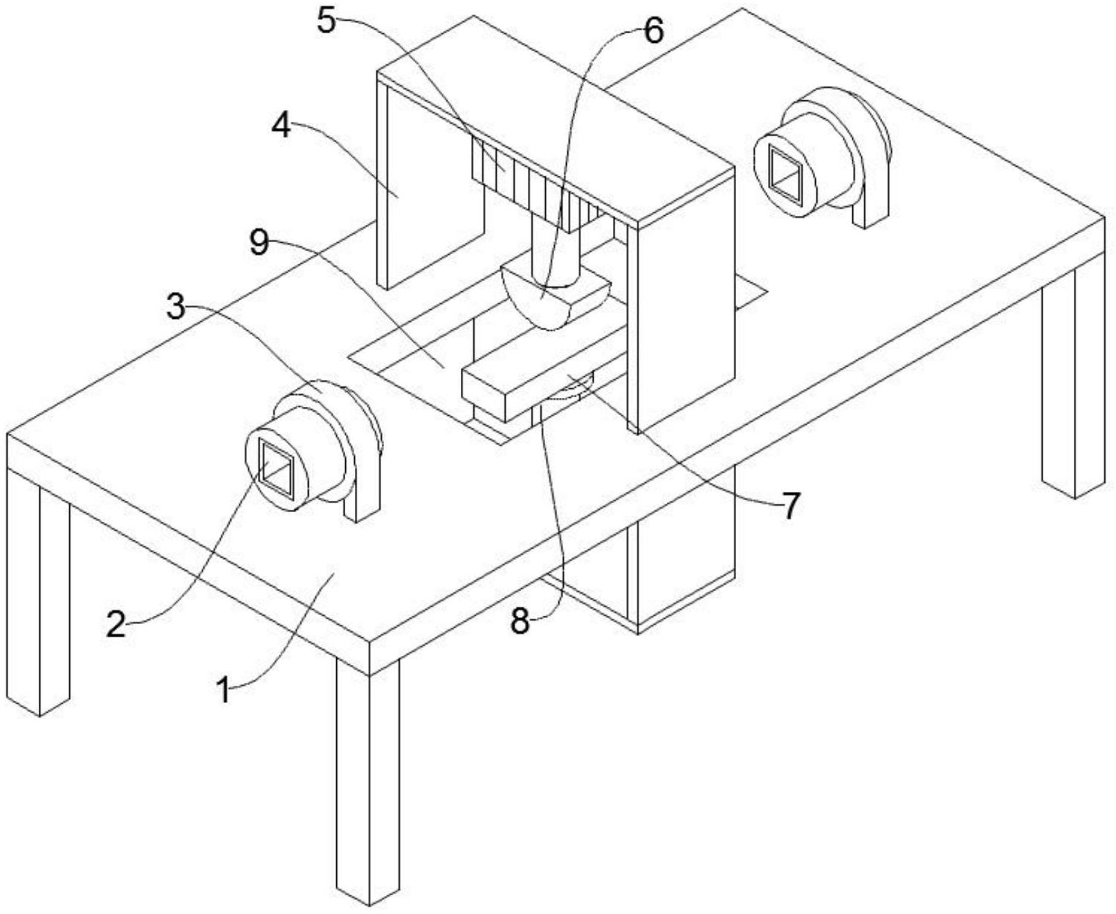
专利摘要:本实用新型公开一种带有隐藏脚托功能的底座及椅子,包括:底座本体,包括座部以及支脚,所述座部与所述支脚合围出容纳空间;移动脚托,滑动配合于所述容纳空间内,包括滑动架、位于所述滑动架上的脚托板以及位于所述滑动架一端的挡板;所述底座具有第一状态,于所述第一状态下,所述滑动架和脚托板缩于容纳空间内,所述挡板位于所述容纳空间的入口,能够在使用时将脚托结构拉出,并且在不使用时可以隐藏于底座本体下方。
今年以来顾家家居新获得专利授权47个,较去年同期增加了6.82%。结合公司2025年中报财务数据,2025上半年公司在研发方面投入了1.97亿元,同比增8.9%。
通过天眼查大数据分析,顾家家居股份有限公司共对外投资了46家企业,参与招投标项目239次;财产线索方面有商标信息968条,专利信息5634条,著作权信息39条;此外企业还拥有行政许可116个。
数据来源:天眼查APP
以上内容为证券之星据公开信息整理,由AI算法生成(网信算备310104345710301240019号),不构成投资建议。
