海尔智家获得实用新型专利授权:“线屑过滤装置及包括该线屑过滤装置的衣物处理设备”
作者:小微
发表于:2026年02月24日
浏览量:55603

图片来源于网络,如有侵权,请联系删除
证券之星消息,根据天眼查APP数据显示海尔智家(600690)新获得一项实用新型专利授权,专利名为“线屑过滤装置及包括该线屑过滤装置的衣物处理设备”,专利申请号为CN202520592423.0,授权日为2026年2月24日。
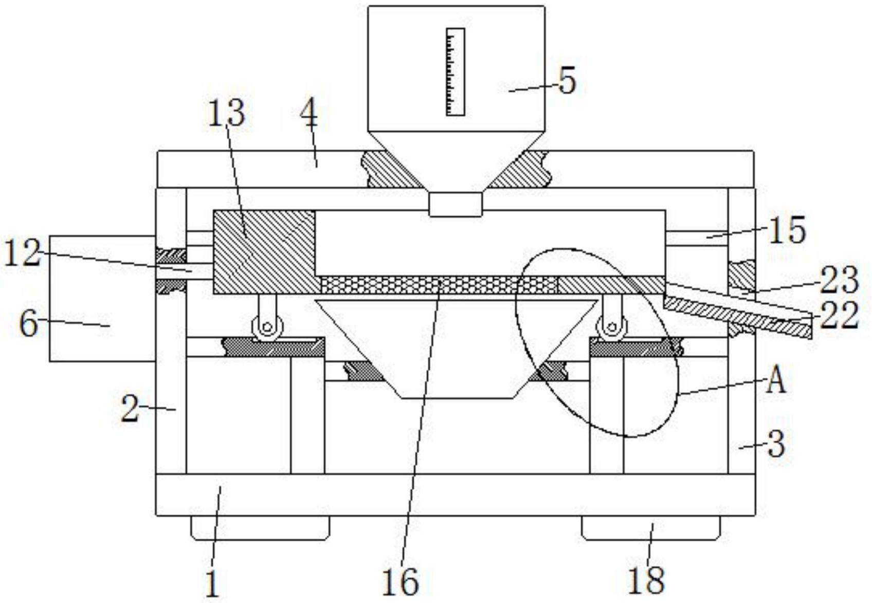
专利摘要:本实用新型涉及衣物处理技术领域,具体提供一种线屑过滤装置及包括该线屑过滤装置的衣物处理设备。旨在解决现有的线屑过滤装置的过滤网上的线屑清理不方便的问题。为此,本实用新型的线屑过滤装置包括外壳以及安装在所述外壳上的第一过滤网和吹气机构,所述外壳具有进风口和出风口,所述第一过滤网安装在所述出风口处或者安装在所述进风口与所述出风口之间,所述吹气机构能够朝向所述第一过滤网吹气,以清理所述第一过滤网上的线屑。通过在线屑过滤装置的外壳上设置吹气机构,在需要清理第一过滤网上的线屑时,用户可以通过吹气机构朝向第一过滤网吹气,将第一过滤网上的线屑吹下来,无需再用手来清理过滤网上的线屑,有利于提升用户的使用体验。

图片来源于网络,如有侵权,请联系删除
今年以来海尔智家新获得专利授权765个,较去年同期减少了16.67%。结合公司2025年中报财务数据,2025上半年公司在研发方面投入了57.9亿元,同比增11.73%。

图片来源于网络,如有侵权,请联系删除
通过天眼查大数据分析,海尔智家股份有限公司共对外投资了60家企业,参与招投标项目1922次;财产线索方面有商标信息378条,专利信息66361条,著作权信息53条;此外企业还拥有行政许可10个。
数据来源:天眼查APP
以上内容为证券之星据公开信息整理,由AI算法生成(网信算备310104345710301240019号),不构成投资建议。
