联德股份获得实用新型专利授权:“一种滑阀定位装置”
作者:小微
发表于:2026年02月27日
浏览量:56997

图片来源于网络,如有侵权,请联系删除
证券之星消息,根据天眼查APP数据显示联德股份(605060)新获得一项实用新型专利授权,专利名为“一种滑阀定位装置”,专利申请号为CN202520162923.0,授权日为2026年2月27日。
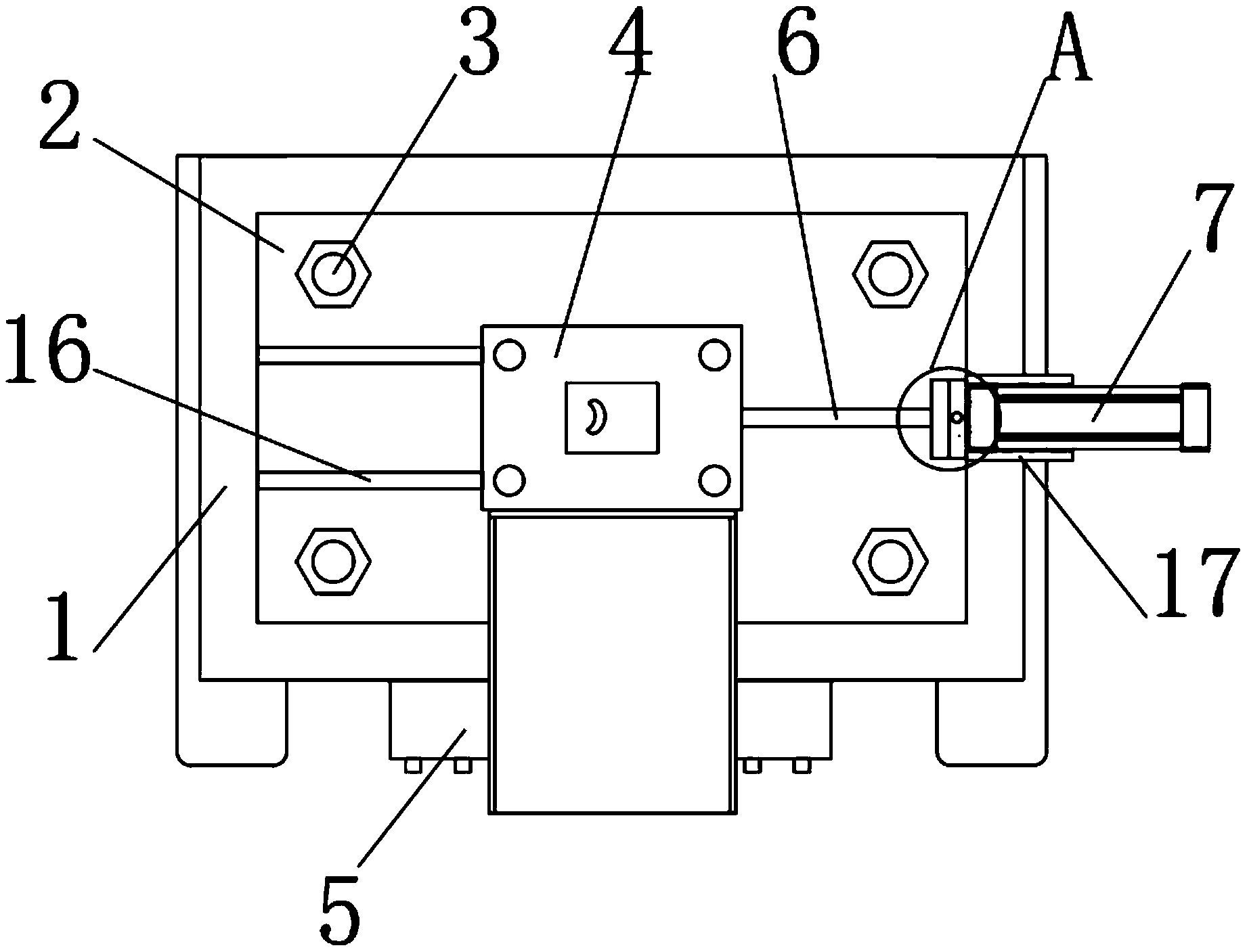
专利摘要:本实用新型公开了一种滑阀定位装置,包括底座连接支撑座,支撑座上方为内凹面,内凹面内放置滑阀,滑阀)中间为滑阀肋条,支撑座两侧均连接固定块,固定块上设置调节旋钮,调节旋钮连接定位杆,定位杆抵住滑阀肋条,支撑座的一侧设置有第一定位器和第二定位器,第一定位器上设置有内凹槽,固定块嵌入第一定位器和第二定位器,固定块上设有锁定环,锁定环嵌入设置在第一定位器上的内凹槽,本实用新型通过改进滑阀定位装置的设计,解决了现有技术中无法对滑阀中间肋条实现中间定位的问题,提高了定位精度。

图片来源于网络,如有侵权,请联系删除
今年以来联德股份新获得专利授权1个。结合公司2025年中报财务数据,2025上半年公司在研发方面投入了3835.27万元,同比增11.35%。
通过天眼查大数据分析,杭州联德精密机械股份有限公司共对外投资了8家企业,参与招投标项目10次;财产线索方面有商标信息24条,专利信息85条,著作权信息2条;此外企业还拥有行政许可35个。
数据来源:天眼查APP
以上内容为证券之星据公开信息整理,由AI算法生成(网信算备310104345710301240019号),不构成投资建议。
