万胜智能获得实用新型专利授权:“一种组合互感器拆卸组件”
作者:小微
发表于:2026年03月10日
浏览量:63184

图片来源于网络,如有侵权,请联系删除
证券之星消息,根据天眼查APP数据显示万胜智能(300882)新获得一项实用新型专利授权,专利名为“一种组合互感器拆卸组件”,专利申请号为CN202520594833.9,授权日为2026年3月10日。
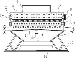
专利摘要:本实用新型涉及互感器拆卸技术领域,公开了一种组合互感器拆卸组件,包括转把,所述转把的内壁固定连接有蜗杆,所述蜗杆的齿端啮合连接有蜗轮,所述蜗轮的内壁固定连接有转轴,所述转轴的上表面转动连接有底座,所述转轴的外壁固定连接有齿轮,所述齿轮的齿端啮合连接有齿条,所述齿条的外壁固定连接有连接块,所述连接块的后侧外壁固定连接有弹簧杆,所述弹簧杆的后侧外壁固定连接有卡块,所述卡块的外壁滑动连接有下压块,所述底座的下表面设有承载组件。本实用新型中,转动转把带动蜗杆使蜗轮转动,蜗轮带动转轴使底座转动,底座带动齿条使连接块移动,由此能够达到快速拆装互感器本体,减少工作人员的时间和耗费的精力的效果。

图片来源于网络,如有侵权,请联系删除
今年以来万胜智能新获得专利授权10个,较去年同期增加了25%。结合公司2025年中报财务数据,2025上半年公司在研发方面投入了4009.13万元,同比增24.9%。

图片来源于网络,如有侵权,请联系删除
通过天眼查大数据分析,浙江万胜智能科技股份有限公司共对外投资了8家企业,参与招投标项目502次;财产线索方面有商标信息54条,专利信息397条,著作权信息140条;此外企业还拥有行政许可56个。
数据来源:天眼查APP
以上内容为证券之星据公开信息整理,由AI算法生成(网信算备310104345710301240019号),不构成投资建议。
