西山科技获得实用新型专利授权:“活检取样主机、真空接头及活检取样设备”
作者:小微
发表于:2026年03月20日
浏览量:58800

图片来源于网络,如有侵权,请联系删除
证券之星消息,根据天眼查APP数据显示西山科技(688576)新获得一项实用新型专利授权,专利名为“活检取样主机、真空接头及活检取样设备”,专利申请号为CN202520168869.0,授权日为2026年3月20日。
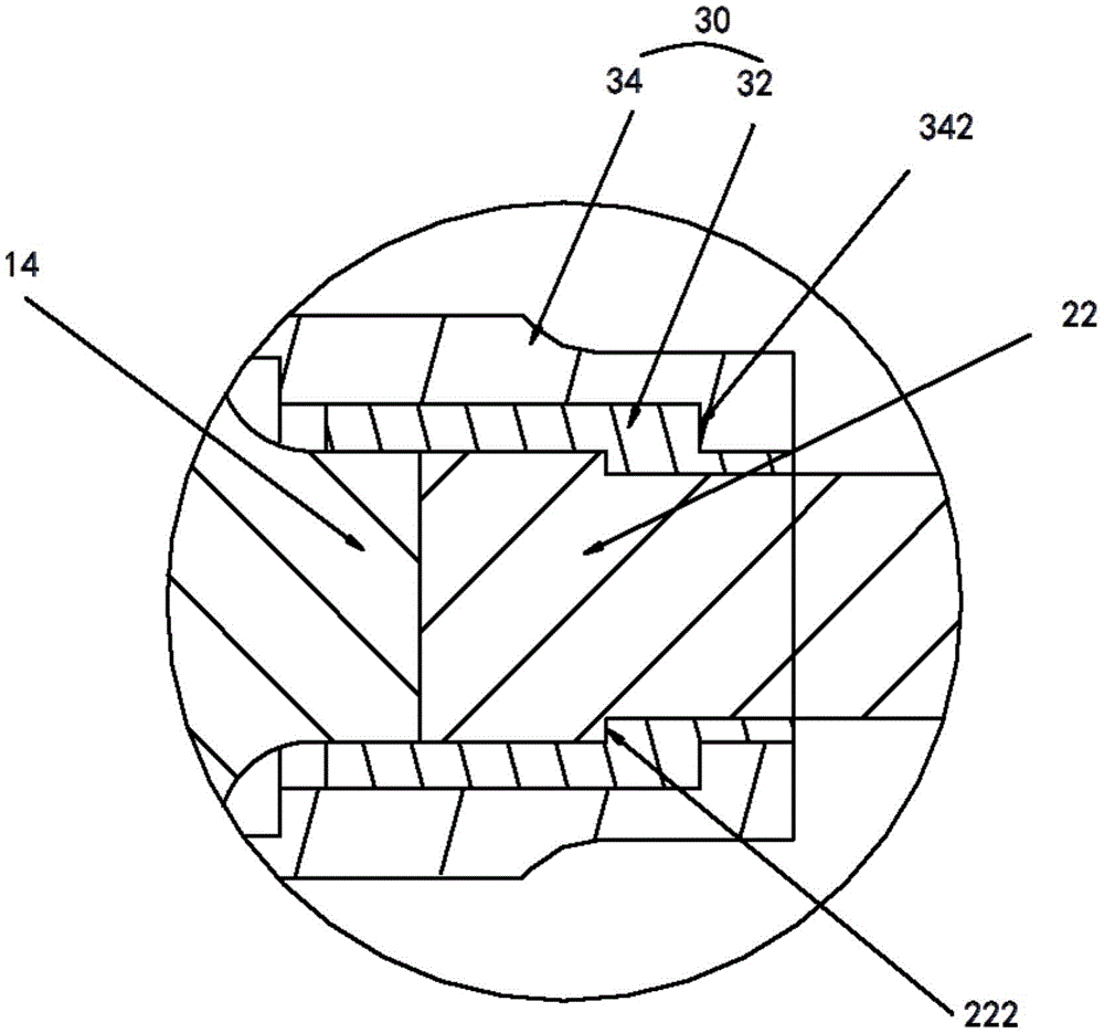
专利摘要:本实用新型涉及一种活检取样主机、真空接头及活检取样设备,将真空接头与连接软管的整体穿设于安装通孔内,将真空接头沿插入方向移动过程中,使得真空接头上的第二定位部与安装通孔的内侧壁上的第一定位部定位配合,从而使得真空接头无法继续沿插入方向移动,使得第二限位部、连接软管及第一限位部沿真空接头的拔出方向以预紧力限位配合,从而使得真空接头无法沿拔出方向移动,进而对真空接头相对机身的插入及拔出均进行稳定、可靠地约束。当需要对真空接头进行维修或更换时,只需沿拔出方向施加大于预紧力的作用力至真空接头,即可将真空接头从安装通孔内拔出而进行维修或更换,拆卸方便、简单,从而能够兼具安装稳固以及拆卸方便的特点。
今年以来西山科技新获得专利授权25个,较去年同期增加了4.17%。结合公司2025年中报财务数据,2025上半年公司在研发方面投入了2474.19万元,同比增7.52%。
通过天眼查大数据分析,重庆西山科技股份有限公司共对外投资了1家企业,参与招投标项目1342次;财产线索方面有商标信息137条,专利信息1774条,著作权信息93条;此外企业还拥有行政许可118个。
数据来源:天眼查APP
以上内容为证券之星据公开信息整理,由AI算法生成(网信算备310104345710301240019号),不构成投资建议。
